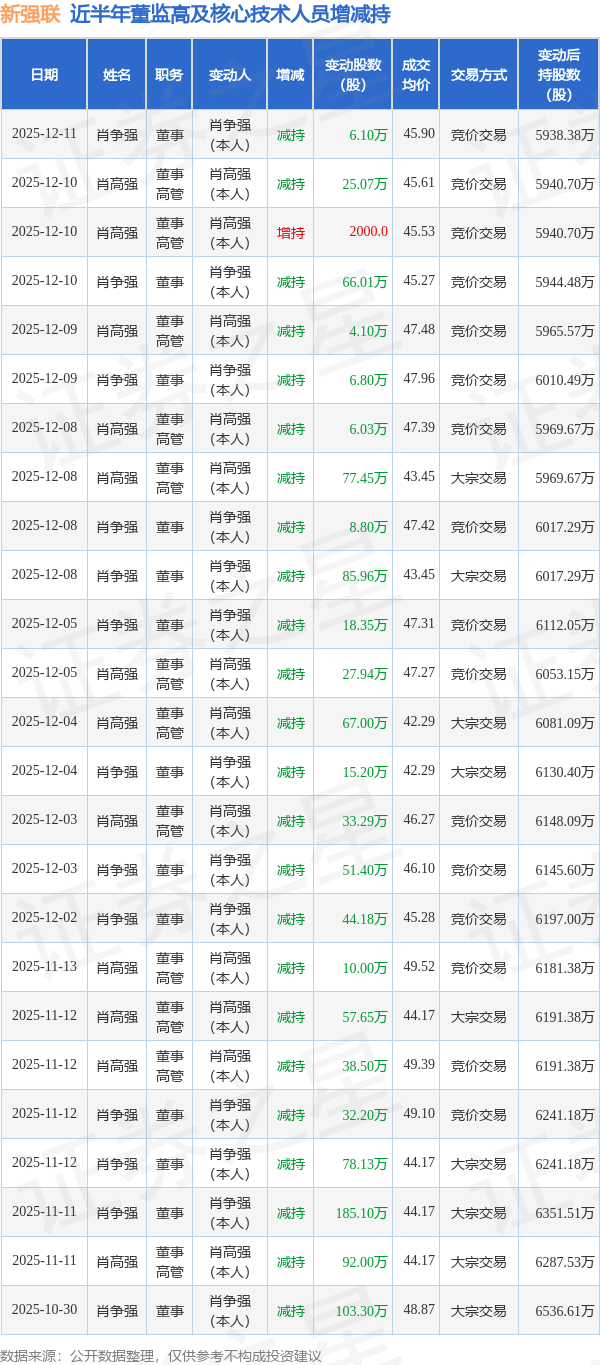
证券之星消息,根据12月12日市场公开信息、上市公司公告及交易所披露数据整理,新强联(300850)最新董监高及相关人员股份变动情况:2025年12月11日公司董事肖争强共减持公司股份6.1万股,占公司总股本为0.0147%。变动期间公司股价上涨1.71%,12月11日当日收盘报46.42元。
新强联近半年内的董监高及核心技术人员增减持详情如下:

新强联的高管列表及最新持股情况如下:

融资融券数据显示该股近5日融资净流出4184.06万,融资余额减少;融券净流入1.56万,融券余额增加。
该股最近90天内共有8家机构给出评级,买入评级4家,增持评级4家;过去90天内机构目标均价为50.16。
以上内容为证券之星据公开信息整理,由AI算法生成(网信算备310104345710301240019号),不构成投资建议。
>>>查看更多:股市要闻