在房地产市场深度调整的背景下,家居建材行业陷入战略转型与经营调整的双重考验。
一次管理层的大换血,一场2.5亿元的跨界AI豪赌,一笔交易总额高达8.46亿元的股权交易,将“吊顶龙头”法狮龙(605318.SH)带上了风口浪尖。
今年前三季度,公司实现营业收入3.75亿元,同比下降7.28%;归母净利润亏损144.08万元,上年同期亏损1225.34万元。
2022年7月,法狮龙首次提出了“2025年力争超30亿、2030年超100亿”的“五年顶天立地,十年梦想百亿”的发展战略。
如今看来,2025年的目标已化为泡影,2030年能否实现也充满了变数。

业绩承压,高层“换血”
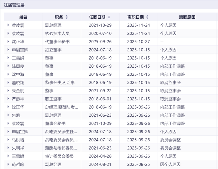
企业核心管理层的稳定性,是市场观察其发展前景的重要窗口。
近日,法狮龙公告,因个人原因,蔡凌雲不再担任副总经理职务。据悉,蔡凌雲在法狮龙任职长达16年,见证了公司从行业成长到上市发展的关键阶段。
9月底,法狮龙还在一日之内完成7名高管的职务调整,涉及董事会及管理层多个关键职位,堪称一次“大换血”级别的调整。

从现任董事会和管理层名单看,新进的几位高管多具有金融投资背景。
其中,董事朱凯,1989年生,2013年2月入职法狮龙,先后担任车间主任、PMC中心主任、生产交付中心主任;2024年7月至今,转任投资部经理。
独立董事王磊,1987年生,博士研究生学历,中共党员,现任中国政法大学民商经济法学院副教授、硕士研究生导师。
副总经理、董事会秘书纵菲,1982年生,曾任西南证券股份有限公司投资银行部高级经理;中天国富证券有限公司投资银行部执行董事;粤开证券股份有限公司投资银行部总监。
总经理、董事李敬祖的投资履历更是深厚。资料显示,于1985年生,曾任国开金融有限责任公司旗下国开开元股权投资基金管理有限公司执行董事;上海国有资本投资有限公司旗下上海孚腾私募基金管理有限公司创始管理合伙人、副总经理。现任屹华科创(北京)科技产业发展有限公司、屹华投资(北京)有限公司董事长。


7月29日,法狮龙公告,控股股东法狮龙投资完成了合计25.29%股份的协议转让,交易总额达8.46亿元。其中,13.93%股份转让给北京屹华元初山汇基金。而屹华山汇正是李敬祖实控的企业。
11月13日,最后一笔转让最终完成。公司实控人沈正华、王雪娟夫妇合计持股比例降至44.72%。

有行业人士认为,此次“大换血”,是法狮龙面对复杂市场环境的一次主动出击。
法狮龙创立于2005年,2020年8月在上交所上市。公司主要从事集成吊顶、集成墙面等产品的研发、生产和销售,产品主要应用于建筑室内装修、装饰。
近年来,中国房地产市场进入深度的结构性调整期,家居建材行业作为下游产业,需求端疲软态势日益显现,加之行业竞争不断加剧,头部企业均面临产品同质化严重、盈利能力下滑的挑战。
法狮龙也不能幸免,公司业绩增长开始明显放缓,2024年迎来上市后首亏,2025年业绩压力仍未缓解。
从战略层面看,多位投资系高管的上任,有望凭借其独特的资源整合能力与行业洞察力,为法狮龙打通资本与产业的连接通道。


战略“换挡”,跨界AI
对法狮龙而言,唯有通过战略上的“换挡”,才能真正走出困局。
一方面,公司持续在传统业务领域挖掘新机会,多维度开拓增长新路径。在2025年业绩说明会上,法狮龙官宣正在四大领域同步发力:
TOC端焕新市场:以厨房空间、卫浴空间、阳台空间的整体换新方案为突破口,进行产品及模式创新,把握存量房时代的市场机遇。
TOB端商业空间:向一站式店装解决方案的方向进行研究,在装配式产品及服务上不断探索,在快速装修改造的商业场景中立足。
TOB端公建项目:大力推进重点项目任务落实,做好央国企及头部企业的入围入库及项目储备。
出海业务:积极布局海外市场,做好产品、服务体系的搭建、人才引进,成为公司创新业务的重点培育渠道。
依托品牌20年的技术沉淀,法狮龙已打造出涵盖顶、墙、柜、门、地等数千个SKU的一站式产品体系,拥有4.0智能产业园,能够满足从商业连锁门店到大型公建项目的全场景需求,并依托BIM数字化管理平台,实现设计、生产、施工全流程的协同运作。
另一方面,公司积极革新,跨界布局人工智能。9月29日,法狮龙宣布拟以自有及自筹资金出资2.5亿元,设立全资子公司北辰星穹(北京)科技有限公司,布局人工智能软件开发等业务,为公司业务转型和新业务发展打造新的载体和平台。
10月23日,北辰星穹(北京)科技有限公司完成工商注册登记,并取得了由北京市东城区市场监督管理局核发的《营业执照》,经营范围涵盖人工智能应用软件开发、系统集成、大数据服务等,标志公司正式跨界AI赛道。
对于法狮龙的AI跨界狂想,市场充满了争议。
有观点认为,这是一场深思熟虑的转型。通过引入AI技术,公司可以提升产品智能化水平,满足消费者日益增长的个性化需求,从而开辟新的增长点。更长远看,这直接关乎企业在未来智能家居生态中的话语权,战略“卡位”更甚于短期回报。
也有观点认为,这是对未来的一场豪赌。跨界AI成功的关键不在于技术本身有多前沿,而在于能否将AI技术深度融入集成吊顶产业的每一个环节,切实提升效率、优化体验,并最终找到一条可持续的商业化路径。
>>>查看更多:股市要闻