事实再一次证明,光伏行业的各种传闻一般不是空穴来风,而是真实的。12月9日传出的“多晶硅收储平台公司”今日正式亮相。

工商注册平台显示,2025年12月9日,一家名为北京光和谦成科技有限责任公司(简称“光和谦成”)的新公司正式成立。这与昨日传出的“多晶硅收储平台”的公司名称相一致。
据报,昨日已有多晶硅头部企业人士对媒体透露,关于“多晶硅收储平台”成立的消息属实。此消息只之所以在公司注册信息尚未显示便已传出,估计是该平台方提前对外放风。
光和谦成的注册地为北京市朝阳区,法定代表人侯一聪,注册地址是北京市朝阳区垡头化工东里3号36号楼6层B6221房间,注册资本为30亿元,认缴出资日期为2029年12月1日。
经营范围覆盖技术服务、技术开发、技术咨询、技术交流、技术转让、技术推广;企业管理咨询。
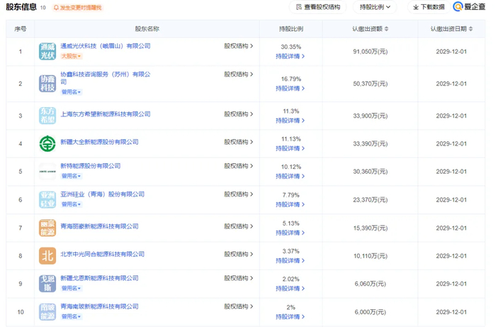
目前,光和谦成的股东有10名,阵容豪华,全球多晶硅CR5成员的通威股份、协鑫科技、特变电工、大全能源、东方希望集团均参与其中。其中,通威光伏科技(峨眉山)有限公司(简称“通威光伏”)认缴出资91,050万元,持股30.35%为最大单一股东。协鑫科技咨询服务(苏州)有限公司认缴出资50,370万元持股16.79%,上海东方希望新能源科技有限公司认缴出资33,900万元持股13.1%,新疆大全新能源股份有限公司认缴出资33,390万元持股11.13%,新特能源股份有限公司认缴出资30,360万元持股10.12%。

亚洲硅业(青海)股份有限公司认缴出资23,370万元持股7.79%,青海丽豪新能源科技有限公司认缴出资15,390万元持股5.13%,北京中光同合能源科技有限公司认缴出资10,110万元持股3.37%,新疆戈恩斯能源科技有限公司认缴出资6,060万持股2.02%,青海南玻新能源科技有限公司认缴出资6,000万元持股2%。
上述10名股东中,通威股份、协鑫科技、新特能源、东方希望、大全能源亚洲硅业、丽豪新能、戈恩斯、南玻A均是国内的多晶硅企业,只有北京中光同和为“新面孔”。但这张新面孔并不陌生,中光同和的法定代表人为王双,系中国光伏行业协会全资子公司。
主要人员方面,光和谦成的董事长为钱程,财务负责人吕赫轩,董事有崔鹏、丁晓科、高银苍、郭旭明、刘译阳、南新建和王永亮,监事会主席为王声容。

其中,崔鹏为青海丽豪新能源科技有限公司法定代表人,刘译阳为光伏行业协会执行秘书长,南新建为新特能源股份有限公司法律事务部部长。
>>>查看更多:股市要闻