当前位置: 爱股网 > 股票新闻 > 正文

18.3亿胜诉案回款难、营业信托纠纷集中开庭,陆家嘴信托陷诉讼“梦魇”

时间:2026年03月26日 20:05

界面新闻记者 | 邹文榕

陆家嘴信托诉讼“梦魇”依然未散。

一边是与世茂高达18.306亿元的债券纠纷仍悬而未决,另一边,这家公司又卷入投资者提起的营业信托批量诉讼之中。

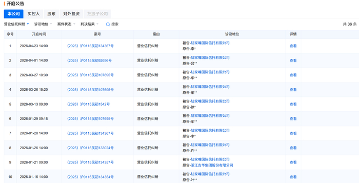
企业预警通披露,3月以来,陆家嘴信托再增5起营业信托纠纷开庭。其中,1起分别于3月13日、3月26日开庭,另外4起还将于3月27日、4月1日和4月23日在上海市浦东新区人民法院开庭。

图源:企业预警通

界面新闻记者梳理发现,营业信托纠纷与金融借款合同纠纷案件数量分列陆家嘴信托涉诉案件前一、二位,其中营业信托纠纷有36条记录,金融借款合同纠纷30条(陆家嘴信托为上诉方地位,下同)。

不过,金融借款合同纠纷均为2026年前的记录;而营业信托纠纷的开庭记录仅2026年至今已增至14条,2024年和2025年全年分别有4条和18条开庭记录。

据界面新闻记者了解,金融借款合同纠纷与营业信托纠纷是信托机构涉诉中较为常见的两类案件。其中,金融借款合同纠纷多为信托机构作为受托人,以信托财产向融资方发放信托贷款后,因融资方违约而提起的诉讼;营业信托纠纷则主要涉及投资人与信托公司之间就信托产品管理、兑付等产生的争议。

“通常在信托产品发生违约并拟启动诉讼程序后,投资人一般会等信托公司针对融资方的金融借款合同纠纷判决生效且终结本次执行后再推进与信托公司的营业信托纠纷。”两高(上海)律师事务所合伙人应越向界面新闻记者分析。

界面新闻记者梳理此前30条金融借款合同纠纷记录发现,事涉被告方基本以房地产公司为主,其中不乏知名房企,例如融创、旭辉、世茂等,以及上海静安协和房地产有限公司、南京世荣置业有限公司、永清美景房地产开发有限公司、张家口市祥龙房地产开发有限公司等地方房企。

近段时间以来集中开庭的营业信托纠纷,原告以自然投资人为主,尽管无从得知事涉具体信托项目,但有行业观察人士向界面新闻记者透露,基本以地产信托项目为主。

据悉,早在2022年11月,有公开报道曾提到,陆家嘴信托旗下有8个地产信托项目发生逾期兑付,继而引发投资者不满,事涉房企包括融创、宝龙、融信、旭辉等,涉及信托资金约41.8亿元,事涉信托项目包括华鼎18、佳合86、锦城48、启航282、尊元11、尊元22、尊元36、尊元66等。

上述项目在本次营业信托诉讼上诉人之一的上市公司吉华集团(603980.SH)所投逾期产品中也可窥见一二。

吉华集团此前公告,2022年3月28日,公司购买的“陆家嘴信托-尊元66号集合资金信托计划”到期,信托计划到期未全额收回,到期未收回金额224.49万元;2022年12月15日,公司购买的“陆家嘴信托·华鼎18号集合资金信托计划”到期,到期未收回金额5000万元。

吉华集团于2025年10月就华鼎18号产品向陆家嘴信托发起诉讼,请求判令被告赔偿投资本金损失5000万元,以及对应的投资收益损失1156.42万元(以5000万元为基数,按年利率7.1%的标准计算)。

界面新闻关注到,吉华集团起诉的营业信托纠纷案号为(2025)沪0115民初134357号,恰与2026年1月21号开庭的吉华集团为上诉人的营业信托纠纷案号相一致,该案目前刚走到民事一审阶段。

营业信托纠纷通常需历经一审、二审乃至执行程序,耗时往往长达数年,投资者才能最终获得赔偿。即便拿到胜诉判决,最终能否顺利兑付也仍存不确定性。界面新闻记者注意到,近期陆家嘴信托不仅面临来自投资人的批量诉讼,一起与世茂相关的案件同样令其承压不小。

陆家嘴(600663.SH)3月19日披露的公告显示,其控股子公司陆家嘴信托近日收到上海金融法院出具的执行裁定书,因涉案抵押不动产暂不具备处置条件,无法处置;且经穷尽财产调查措施,未发现被执行人有其他可供执行的财产,上海金融法院依法终结本次执行程序。

这也意味着,即便历经一审、二审,前后超过五年,陆家嘴信托等来的执行裁定书现如今仍未能实现实际清偿。

据悉,该案涉及金额包括本金18.306亿元及利息、违约金、律师费、保全费、诉讼费等。涉及的信托产品为2020年12月设立的陆家嘴信托-佳合73号集合资金信托计划。信托资金用于认购南京世荣发行的“南京世荣置业有限公司2020年私募债券1号”。南京世荣置业是世茂集团旗下子公司,其核心资产为南京江北世茂璀璨江山项目,而该信托计划对应的抵押资产,正是该项目相关不动产。

上海金融法院在终结本次执行程序时裁定,“申请执行人发现被执行人有可供执行财产的,可以再次申请执行;再次申请不受申请理由执行时效期间的限制。被执行人负有继续履行本案债务的义务,并将履行情况及时告知法院。”

陆家嘴信托面临的无资产可处置并非行业个例,在房地产市场下行的环境下,不少信托机构都曾遭遇不动产抵押物处置难题。

例如,江苏信托涉佳兆业35亿元借款纠纷案,胜诉后核心抵押不动产因市场低迷与项目停工难以处置;中诚信托旗下新能源系列产品因踩雷恒大系,遭遇抵押物价值大幅缩水以及部分土地因闲置被政府收回的极端情况;渤海信托在管理的“北京九台集团”及“东方梅地亚”相关信托项目同样陷入“赢了官司拿不到钱”困境,最终迫使信托机构登报催债。

在北京洪范律师事务所律师、高级顾问杨祥看来,当前信托机构在处置不动产抵押物方面面临多重困境。

“例如,房地产市场持续下行,市场观望情绪浓厚,住宅与商业物业需求低迷,导致抵押物变现困难;而原有估值体系不再适用,抵押物价值则会大幅缩水。”杨祥向界面新闻记者分析道,“同时,不动产处置涉及税务、权属登记等繁杂环节。”

另据杨祥透露,当前保交楼政策优先导向下,金融机构的抵押权也可能遭遇行使难题,同时,不少不动产标的存在多头抵押、多方查封冻结的问题,即便处于第一顺位抵押权,复杂的权利叠加也直接导致抵押物处置难以推进。

作为上市公司陆家嘴旗下重要金融平台之一,陆家嘴信托在2025年9月获批的新任董事长为前海通资管总经理王岗。

2026年2月,经监管部门批准,王岗又继而担任陆家嘴国泰人寿董事、董事长职务。

界面新闻记者注意到,身兼信托、保险两家机构董事长的王岗,履新后对外公开发声较为有限。但在其带领下的2025年,两家机构均迎来业绩反弹。

其中,陆家嘴信托2025年实现营收9.85亿元(银行间未经审计财报,下同),净利润2.43亿元,同比分别增长50.16%和18.24%。这也是陆家嘴信托在历经2022、2023和2024年三年营收、净利润同比三连跌后,首次重回正增长。

业绩反弹之下,如何平衡好公司转型发展和历史遗留问题解决,加快风险资产处置、妥善化解投资人诉讼,或是王岗执掌陆家嘴信托期间较为现实的考验。

[返回前页] [关闭本页]

热门新闻


    Warning: include(top.php): failed to open stream: No such file or directory in /www/wwwroot/igu888.com/stocknews/ggnews1.php on line 141

    Warning: include(): Failed opening 'top.php' for inclusion (include_path='.:/www/server/php/73/lib/php') in /www/wwwroot/igu888.com/stocknews/ggnews1.php on line 141

>>>查看更多:股市要闻