当前位置: 爱股网 > 股票新闻 > 正文

思瑞浦发布国产车规级大功率单die高边开关方案

时间:2026年03月26日 12:56

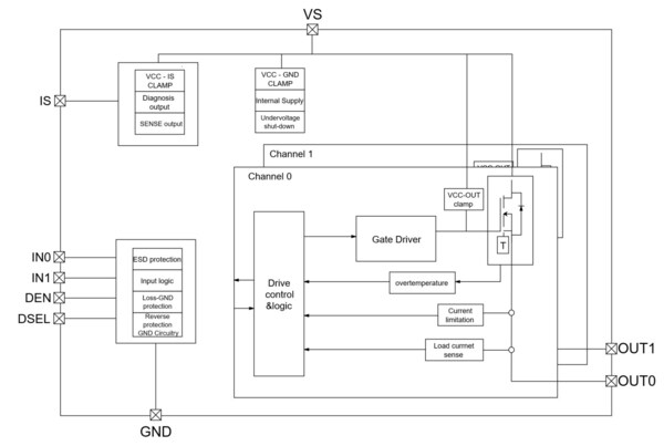
(全球TMT2026年3月26日讯)思瑞浦正式发布了新一代应用在车身电控的高端双通道智能高边开关TPW4020DQ。它并非一个简单的功率开关,而是一个集“驱动、感知、保护”于一体的智能功率管理与安全控制单元。产品的核心优势源于创新的VDMOS + BCD集成工艺平台与更全面的保护功能。

TPW4020DQ系统内部框图

TPW4020DQ是国产第一颗大功率单die高边开关,将单通道导通阻抗降至20mΩ(常温25°C)的行业领先水平,极大降低了导通损耗和发热;同时优化了芯片布局和散热,为集成高精度监控电路释放了空间。TPW4020DQ保护功能的全面性与可靠性对标国际领先厂商。在测试验证方面,TPW4020DQ还通过了ISO 7637-2、ISO16750-2标准车规波形测试、AEC-Q100-012重复短路可靠性测试和感性负载退磁Emax极限测试。

[返回前页] [关闭本页]

热门新闻


    Warning: include(top.php): failed to open stream: No such file or directory in /www/wwwroot/igu888.com/stocknews/ggnews1.php on line 141

    Warning: include(): Failed opening 'top.php' for inclusion (include_path='.:/www/server/php/73/lib/php') in /www/wwwroot/igu888.com/stocknews/ggnews1.php on line 141

>>>查看更多:股市要闻