
“结果”
谁也没想到,一场轰轰烈烈的“索赔大战”,最后竟以原告的“完败”收尾。2026年2月,ST明诚一则公告,直接给北京福升投资投资管理有限公司(下称“福升投资”)泼了一盆冷水:湖北省武汉市中级人民法院一审驳回福升投资诉讼请求,近2.44亿元的索赔款一分没拿到,还要自掏140万元案件受理费。

事情还要从2025年8月说起。当时ST明诚突然披露一则重大诉讼公告,福升投资拿着“证据”把它告上了法庭,索赔金额高达24433.74万元(含暂计利息)。福升投资说,自己管着的三只私募基金,都买了ST明诚发行的“20明诚04”“21明诚01”两只公司债,而买入的时候,正好是ST明诚涉嫌虚假陈述的时间段——实施日之后、揭露日之前。
之间的关系
福升投资敢底气十足地索赔,核心依仗就是一份“官方文件”:2024年2月26日,ST明诚收到了湖北证监局的《行政处罚事先告知书》,里面明确指出,ST明诚2020年、2021年的年报,都涉嫌虚假记载。在它看来,正是这份“掺了水”的年报,才让自己的私募基金亏了钱,两者之间的因果关系明明白白,ST明诚必须赔钱。

不过自从2024年2月ST明诚披露收到那份《行政处罚事先告知书》后,直到现在还未看见证监局官网上其收到正式《行政处罚决定书》,但证监局已经对ST明诚两任年审机构的相关人员,出具了警示函。
可能有人会问,索赔虚假陈述,难道一定要等监管部门的正式处罚吗?其实不然,根据最高人民法院的规定,这类民事赔偿诉讼,并不需要以行政处罚为前提。
但问题的核心在于,能不能认定ST明诚真的有虚假陈述行为,以及损失和虚假陈述之间,能不能拿出足够的证据。所以,福升投资这四没拿出过硬的证据,证明自己的亏损就是造假导致的?
压力上升
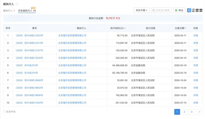
公开信息显示,福升投资成立于2018年并完成备案,目前管理资金规模在5—10亿元之间。2025年11月,因拖欠669.8万元执行款未履行,北京市第一中级人民法院将其列为被执行人。

企查查数据显示,截至目前,福升投资历史累计被执行金额已高达1.51亿元。此次2.44亿索赔泡汤、额外承担140万元案件受理费,无疑是又给福升投资增加了一层压力。

而掌舵这家麻烦缠身机构的核心人物,履历也颇为“神奇”。公开资料显示,福升投资法定代表人为黄杰明,其持有公司30%股份;另一持股70%的大股东俞钢,并未在公司担任相关职务,显得十分“低调”。从履历来看,黄杰明并非出身投资世家,早年曾任职摄影助理,直到2011年才转战券商行业,先后在华林证券、国海证券等机构任职,直至2020年才加入福升投资。

图片信息来源:中基协
其更值得关注的是,此次起诉ST明诚,并非福升投资首次因债券虚假陈述纠纷对簿公堂。2025年国都证券半年报曾披露,作为“19成龙01”债券的持有人,福升投资于2025年6月12日,将成龙建设、国都证券等5家主体一并告上法庭,同样以“虚假陈述”为由索赔,合计索赔金额达5125.37万元。
面对行业深度调整期的多重压力,深陷困局的福升投资,接下来究竟会选择提起上诉继续维权,还是另寻纾困路径?又将如何破解债务僵局,着实令人充满好奇。

>>>查看更多:股市要闻