2月25日盘后,法兰泰克(603966.SH)、汇隆新材(301057.SZ)皆因筹划控制权变更而发布停牌公告。
但一周过去,两份易主计划却迎来不同结局:前者顺利卖身无锡市新吴区国资,交易对价11.41亿元;后者于3月4日盘后宣告“交易终止”,并于次日正式复牌。
3月5日,汇隆新材开盘一字20CM跌停,股价报收35.93元/股。
对于终止原因,汇隆新材公告表示:停牌期间,公司控股股东、实际控制人与交易对方就可能导致公司控制权发生变动的相关重大事项进行了充分探讨。但由于涉及事项较多,与交易对方就核心事项未达成共识。
有市场人士对财闻表示,近期以来,控制权变更监管趋严,买家往往需要长期股份锁定+短期不变更主业的承诺。比如,法兰泰克公告中更是明确承诺“36个月内不注入自有资产”。“终止变更较为迅速,大概率双方在价格上分歧较大。”
值得注意的是,3月4日,汇隆新材还同时披露了一份股份转让协议:公司实控人沈顺华拟以35.928元/股的价格,向“杭州星臻企业管理合伙企业(有限合伙)”(简称“杭州星臻”)转让701.82万股无限售流通股,占总股本的6%,交易对价2.52亿元。

交易完成后,沈顺华及其一致行动人合计持股比例将从53.11%降至47.63%,仍保持控股地位;杭州星臻则晋升为公司第三大股东。
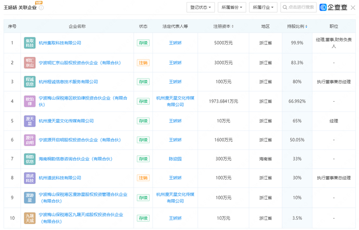
据权益变动报告书介绍,杭州星臻成立于2025年12月10日,总规模5亿元。股权穿透来看,穿透后的最终实控人系自然人“王娇娇”。
企查查显示,王娇娇目前共持股8家关联公司,合计注册资本约9093万元,公司注册地集中在杭州、宁波、海口三地,经营范围多以资产管理、商业信息咨询为主。

3月5日,财闻就杭州星臻的投资背景及意图致电汇隆新材董秘办,工作人员未予正面回应,仅表示“本次投资是看中公司的发展前景与长期投资价值。”
上述转让协议中也提到,二者不存在任何关联关系,包括但不限于控制关系、投资关系、重大影响以及其他任何利益或利害关系。
公开资料显示,汇隆新材成立于2004年,是一家专业从事原液着色涤纶长丝研发、生产和销售的高新技术企业,公司产品广泛应用于家纺、户外、汽车内饰等领域。
业绩表现方面,2025年前三季度,该公司营收6.74亿元,同比增长11.26%;归母净利3073.92万元,同比增长25.88%。但若剔除政府补助等非经常性损益的影响,扣非净利仅2103.70万元,同比下滑13.89%。

拉长周期再看,其业绩波动也更加明显。自2021年上市以来,汇隆新材2022年、2024年净利润均出现双位数下滑。盈利能力指标同样呈下行趋势:毛利率从2021年的22.2%降至2025年前三季度的13.79%,净利率则从11.76%下滑至3.69%。
此外财闻还注意到,截至2025年前三季度,汇隆新材短期借款及长期借款已高达5.02亿元,较上年同期的1.54亿元大增225.97%。资产负债率更是突破52%,也较上市初期12.91%的水平有着明显抬升。
在经营业绩不佳,资产负债走高的形势下,同花顺iFind数据显示,2025年7月1日—2026年2月25日,公司股价从16.44元飙升至44.91元,期间涨幅超173.18%,今年2月12日更是创下47.43元/股的历史新高。
“显然本次交易终止,股权转让的接盘方从资质上看并无特别产业资源背景,导致了部分重组预期落空,后续或有资金出逃的过程。”
>>>查看更多:股市要闻