养老FOF基金业绩回暖,规模却依旧“长不大”。
截至1月12日,可统计业绩的248只养老FOF基金中,有233只近一年收益为正,占比超九成。就在2024年三季度末时,还有约83%的产品的区间收益率为负。
尽管收益回暖明显,但清盘警报仍未解除。第一财经据Wind统计,2024年共有13只(仅统计初始基金,下同)养老FOF触发合同终止条款并清盘。截至2025年1月12日,仍有184只养老FOF基金的规模小于2亿元,处在清盘边缘。这其中,约有42只2022年成立的养老FOF基金即将迎来3年大考。
对于养老FOF目前面临的发展瓶颈,一位行业人士对第一财经记者分析称,养老FOF的发展需要从多个维度进行思考和改进,养老FOF的产品设计和投资策略需要更加多元化。目前,权益市场的波动对养老FOF的收益影响较大,因此,引入更多全球视角下的权益和债券资产,以及与传统资产相关性较低的大宗商品如黄金,将有助于增强整体组合的风险收益特征。
收益回暖,但规模增长停滞
自2024年9月底以来,随着权益市场的上涨,养老FOF基金的业绩出现了显著的回暖。
据不完全统计,截至2025年1月12日,近一年来,248只养老FOF基金的平均回报达到4.91%,其中仅有15只基金的收益为负。这一表现相较于2024年前三季度有了大幅改善,当时这些养老FOF基金的区间回报平均为-5.1%,且超过八成的产品收益率为负。
具体看来,一些在2024年前三季度表现垫底的养老FOF基金,如华夏养老2040三年A、工银养老2050A、工银养老目标日期2060五年持有、华夏养老2055五年A区间收益均低于-20%;截至目前,上述产品近一年收益跌幅收窄,分别为-1.31%、-2.73%、-1.47%、-8.8%。

数据来源:第一财经据Wind统计
尽管收益有所好转,但养老FOF基金的整体规模并未随之增长。
Wind数据显示,截至2025年1月12日,市场上共有269只养老FOF产品(仅计算初始基金),规模合计为553亿元。与2024年7月12日的数据相比,当时市场上共有271只养老FOF产品,规模合计为668.27亿元。
值得注意的是,2024年12月15日,个人养老金制度正式向全国推开,并在个人养老金产品目录中增加了权益类指数基金品种,首批即纳入了85只权益类指数基金。
“新纳入个人养老金的指数基金,主要跟踪指数为沪深300、中证A500、中证500等宽基指数,以及双创板块和红利类指数,普遍为成立时间较长、规模较大的产品。”上述行业人士分析称,这也令养老FOF基金面临资金被分流的压力。
Wind数据显示,截至12月13日,85只新增Y份额基金中,有82只规模在10亿元以上,仅3只指数基金规模低于10亿元。
清盘困局待解
由于“长不大”,清盘一直是部分养老FOF产品面临的发展困局。
根据相关规定,养老FOF基金在合同生效三年后,必须保持资产净值不低于2亿元,否则将面临清算并终止。
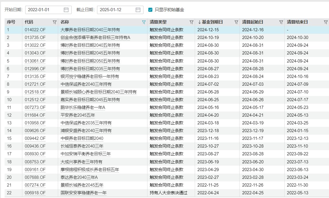
第一财经据Wind统计,2024年共有13只(仅统计初始基金)养老FOF触发合同终止条款并清盘。
包括最近一次清盘的大摩养老目标日期2040三年持有,该基金到期日为2024年12月15日,截至2024年三季度末的规模仅1200万元。此次清盘后,摩根士丹利基金目前旗下暂无养老FOF产品。作为该产品的基金经理,洪天阳目前也已无在管公募产品。
还有创金合信添福平衡养老目标三年持有,该基金到期日为2024年10月9日,截至2024年三季度末的规模为6100万元,成立以来总回报为-12.45%。
以及博时基金于2024年8月底“一口气”清盘四只养老FOF,分别为博时养老目标日期2035三年持有、博时养老目标日期2050五年持有、博时养老目标日期2045五年持有、博时养老目标日期2040五年持有。

数据来源:Wind
拉长周期看,近年来还有摩根锦程积极成长养老目标五年、浦银安盛养老2040三年持有、长城恒泰养老2040三年、中银养老目标日期2040、景顺长城养老2045五年、国联安安享稳健养老一年等8只产品清盘。截至目前,市场上养老FOF产品的清盘总数已扩至22只。
而养老FOF退场的趋势仍在延续,市场上规模不足2亿元的养老FOF基金产品数量并不在少数。据Wind统计,截至2025年1月12日,市场上共有269只养老FOF基金(仅计算初始基金),其中184只规模小于2亿元,占比约68%;还有63只规模小于5000万元,占比超两成。
华宝基金FOF基金经理孙梦祎称,当前基金产品众多,A股市场风格多变,普通投资者选基金难度大。在此背景下,养老FOF基金更需要解决资产配置、行业及基金选择的问题。FOF基金经理也要建立投资认知,发挥主动配置能力,这是获取超额收益的关键。
>>>查看更多:股市要闻