当前位置: 爱股网 > 股票新闻 > 正文

谁还能救陕西通家汽车?

时间:2024年08月16日 17:08

每经记者 夏子博    每经编辑 张静    

出走半生,陕西通家终难逃破产重整之命运

8月1日,破产重整案件信息网上刊登了关于陕西通家汽车股份有限公司(以下简称:陕西通家)招募破产重整人的公告,显示公司资产负债率约为176.83%,上亿元大额亏损已持续多年。

陕西通家是省内唯一全牌照生产资质的新能源汽车公司,2017年,其新能源电动物流车销量就已过万,曾在行业内名列前茅。

但短暂的辉煌过后,国家补贴退坡,公司经营情况急转直下,几经停产、复工,始终难回正轨,各方资本轮番登台“操刀”但都不了了之,给足了希望,又最终失望。

这次,会是陕西这颗“独苗”再次复苏的契机吗?

资产负债率176.83%

陕西通家位于宝鸡市岐山县蔡家坡镇。这里是宝鸡市汽车制造重地,有陕汽商用车、法士特传动、汉德车桥等整车及配套企业,有火车站、高铁站和连霍高速公路,交通便利、产业兴旺。

热土之上,陕西通家却是位失意者,其2019年由于补贴退坡、银行抽贷等问题,开始先后传出停产、复工消息,至今仍未重回正轨。

根据新海宜科技集团股份有限公司(以下简称:新海宜)年报,陕西通家2020年—2023年营收分别为3457.85万元、2790.23万元、894.03万元、410.64万元,净利润为-2.19亿元、-1.18亿元、-4.84亿元、-3.68亿元,连年巨亏不止。

目前陕西通家已经严重资不抵债,根据公告,截至2023年9月30日,公司资产总计15.54亿元,负债合计27.48亿元,资产负债率约为176.83%。而截至2022年9月,公司资产负债率曾达到236.20%。

停工事件后,陕西通家几乎被轮番诉讼、执行、限高淹没,查询平台显示,陕西通家现存73条失信被执行人记录,涉案总金额1.34亿元,限制高消费记录139条,涉案总金额7.21亿元。终本案件中,执行标的总金额8.83亿元,未履行比例98.23%。记者以寻求投资者身份致电破产重整相关人士,对方表示“(陕西通家)被诉的案子是比较多的,土地之类肯定也都查封了。”

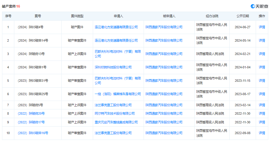
这也不是首次有人申请陕西通家破产重整了,2020年10月9日—2024年5月14日间,陕西通家共有15件破产重整相关案件,申请人(上诉人)包括巴斯夫杉杉电池材料(宁夏)有限公司、深圳欣锐科技股份有限公司、法兰泰克重工股份有限公司、露笑新能源技术有限公司等多家公司。

图片来源:天眼查图片来源:天眼查

连年亏损、诉讼缠身、资不抵债……作为市场化竞争的企业而言,陕西通家无疑是积弊难返,甚至靠自己无法在市场生存下去。

但作为陕西省内唯一新能源汽车生产资质的厂商,陕西通家的破产,有时不单单是一道自身与债权人的利益选择题,还须考虑产业布局、地区就业等,新能源生产牌照也不是随便申请就能拿到的,谁也不希望看到“独苗”就这样流失,能拉还是要拉一把的。

根据宝鸡市工信局官网《新能源智能商用车运营总部项目签约》一文中提及,通家汽车公司是陕西省唯一一家拥有轻型货车、轻型客车、乘用车、皮卡及新能源汽车等品类车型全牌照生产资质的企业,市委、市政府高度重视其盘活重组工作,多次协调解决相关问题。

宝鸡中院认为,通家公司具有陕西省内唯一新能源汽车生产资质,生产设备完整,具备整车制造能力。重整符合国家新能源产业发展规划和市场需求,具备重整价值。

从优先考虑条件中,可以看出理想中“白衣骑士”的样子:1.能为债务人复工复产提供资金支持。2.具有汽车行业投资经验、生产经验或运营经验。3.具有参与大型企业集团或汽车生产、开发类型公司重整、债务重组的项目经验。据悉,重整投资人招募期限截至2024年9月30日17:00前。

对此,记者致电陕西通家、新海宜、宝鸡中院等多方希望了解情况,但截至发稿并未获得明确回复。

坎坷重生路

实际上,陕西通家在走到破产重整这条路之前,曾有多方实力资本进场尝试“操刀”,但结局均是不了了之,给足了市场希望,又终是失望。

2016年,还是A股上市公司的新海宜通过收购湖南泰达持有的陕西通家股份,并对陕西通家进行增资,获得了其38.07%的股份,正式入局成为第二大股东,并于2018年实现对陕西通家的控制。

但颇为戏剧性的是,新海宜入局后,陕西通家经营情况直接一泻千里,并且再没回到正轨过。2015年、2016年,陕西通家净利润为3506.79万元、3580.84万元,到了2017年和2018年,分别亏损7190.12万元和5.37亿元,到了2019年直接巨亏10.64亿元,资不抵债超过12亿元。

2019年10月25日晚,新海宜公告,从2018年开始,由于银行及金融机构对公司累计抽贷、断贷几亿元,加之国家补贴政策的调整,通家公司的发展遇到了巨大压力,现金流愈发紧张,局势持续恶化,公司决定只保留部分高管和骨干人员正常上班,其他人员进入待岗状态。

自此,陕西通家正式进入停产阶段,新海宜也开始筹划资本腾挪,或欲借力脱困,或欲“甩货”离场。

之后,一众资本大佬围绕陕西通家轮番登台唱戏,2021年12月,先是前“四川首富刘永好入局,其旗下公司与新海宜签署“纾困专项咨询服务”,帮助陕西通家与具备汽车设计能力但尚无汽车生产资质的赢领汽车,签订了2022年与2023年均不低于1万辆的厢式冷链物流车及系列车型购销合作协议。

2022年7月,陕西通家又迎来“救星”,这一次是东吴水泥、湖南远古汽车、宝鸡工业发展集团,称要投资30亿在宝鸡建设“新能源智能商用车运营总部”,助力陕西通家重生。

图片来源:新海宜公告图片来源:新海宜公告

但出乎意料的是,四个多月后(2022年11月),新海宜再次披露一份《股权收购意向书》,由杨澜夫妇创立的母公司阳光七星投资集团的子公司集兆嘉GCN出手,约定12 个月内通过换股方式入股陕西通家60%以上股权。

相比继续运作,新海宜似乎更希望完全脱手陕西通家,其在《股权收购意向书》中表示,前两次合作都宣告将“协商解除”。不过,后续集兆嘉GCN似乎又让新海宜失望了,如今过去了将近两年时间,股权仍在新海宜手里,收购并未成行。

2023年10月10日,新海宜再次公告称,公司拟与通驰集团新设合资公司组建新能源智能商用车运营总部,并将委托合作方——陕西通家进行车辆生产。

但陕西通家似乎始终是没等来真正有实力挽救自己的人,每一条消息都引得外界解读不断,也失望不断。

2024年初,新海宜在互动平台上表示,陕西通家的生产恢复工作正在有条不紊地进行,各岗位人员已经基本到位,设备保养调试已经基本结束,供应链已经基本理顺,首批生产物料已经下单采购,目前已经接到了部分客户订单,预计通家公司将很快进入正式生产阶段。

外界解读,此举更像是为了保壳,真正复工效果很难说。彼时新海宜已收到《行政处罚及市场禁入事先告知书》,多次提示可能触及重大违法强制退市情形,且股价在一元左右徘徊,同样面临面值退市风险。

最终,陕西通家“自救”效果有目共睹,新海宜也未能摆脱退市结局。2024年3月18日,新海宜股票被深圳证券交易所决定终止上市。

谁还能救陕西通家?

从上海到江苏,甚至外商入场,各方资本大佬轮番登台唱戏,却又无一不默默隐去,陕西通家为何如此难治?

新海宜曾公开回复,投资陕西通家一是看重其全牌照汽车生产资质资源;二是陕西通家的电牛系列商用物流车销售情况不错,其制造能力也是巨大优势,未来能够为各大企业代工。

后续入局者们大多也按此逻辑,根据回复,目前市场上几百家汽车品牌多数是没有汽车生产资质,尤其是互联网转型造车很多都是囿于生产资质,有了牌照才算拿到入场券。

除了牌照之外,陕西通家还有一些制造底子。根据公告,陕西通家是西北地区集新能源微型车、SUV、MPV的研发、生产、制造、销售于一体的技术企业。公司占地面积860亩,拥有完整的整车四大工艺生产线和公用配套设施,具备年产10万辆新能源汽车的生产能力。

图片来源:陕西通家官微图片来源:陕西通家官微

这一切看似美好,但负债水平和长期停产让陕西通家想要翻身并不容易。

一来,陕西通家资产与负债间的差额超过10亿元,这还只是明面上的,陕西通家已停产数年,想要快速复工复产并不现实,后续厂房设备更新、工人培训到考核上岗、应付诉讼官司等均需大额资金、时间成本。“制造能力要说有也有,但肯定跟不上现在新能源汽车发展的设备制造,如果投入生产的话,需要重新维护、升级等。”上述破产重整相关人士也表示。

加之陕西通家长期官司缠身,被列入失信被执行人,公司对供应商的信用难言良好,会导致无人敢于垫资供货,进一步加剧现金流危机。

而倘若有人解决完这一切,换来的或是一个不明朗的未来。目前,陕西通家已错过了最好时机:2022年公司频获资本关注,得益于互联网公司造车热潮,牌照价值凸显,但是现在已经到了大厂厮杀最惨烈的时候,“大鱼吃小鱼”“赢者通吃”,在补贴退坡情况下,很少能听到有谁宣布下场造车了,陕西通家就算重组也难保不会出现生产越多、亏得越多情况。

简而言之就是,所需资金与重整价值之间难以匹配。

那不谈生产制造,仅靠这个牌照是否有利用价值?

陕西通家还真走过这个路子。根据中国证监会市场禁入决定书显示,陕西通家曾与山东国金合作,由山东国金负责车型生产、组装、销售,再由陕西通家出具车辆合格证,并收取每台300元的代申报费用。

2017年和2018年度,陕西通家在账务处理上将代为申报补贴的业务伪装成正常的购销业务。即陕西通家先虚构向山东国金的原材料采购业务,再虚构生产过程,最后虚构向山东国金的整车销售业务,并将政府补贴金额予以冲回。上述错误导致新海宜虚减2019年年初少确认投资损失1961.48万元。

需要提醒的是,上述模式必然与本轮重整预期目标及地方政府考量相悖。看到彼时拥有独家资质、完备产线、一流销售网络,占据完美蓝海市场的陕西通家,将一手好牌打得稀烂,我们在唏嘘之余,也希望有真正有能力、有资金的重整人能带领陕西通家走出困境反转。

封面图片来源:陕西通家官微

查看更多董秘问答>>

热门新闻

>>>查看更多:股市要闻 内参消息 实时内参 财经日历