界面新闻记者 | 陈慧东
光伏银浆龙头企业帝科股份(300842.SZ)日前发布公告称,拟作价3亿元收购江苏晶凯半导体技术有限公司(下称“江苏晶凯”)62.5%股权,跨界切入存储芯片封测赛道。
在光伏主业增速放缓、盈利承压的背景下,这场跨界收购被市场解读为帝科股份寻求第二增长曲线的关键布局。
帝科股份方面对界面新闻表示,本次交易协同效应明显,有利于促进公司存储业务快速发展。
这不是公司在存储芯片业务方面做的第一次动作,2024年8月,帝科股份收购成立仅月余的存储芯片企业深圳市因梦控股技术有限公司(以下简称“因梦控股”)51%股份,引入其业务团队控股合作,这是公司初步涉入存储芯片行业。
巧合的是,因梦控股与江苏晶凯同样为张亚群及其配偶控制的企业,此次收购江苏晶凯的估值溢价高达930.28%。

溢价率高达930.28%
根据帝科股份10月14日发布的公告,拟通过支付现金3亿元收购深圳市晶凯电子技术有限公司(以下简称“晶凯电子”)、张亚群、深圳辉赫投资合伙企业(有限合伙)(以下简称“辉赫投资”)持有的江苏晶凯合计62.5%股权。本次交易不构成关联交易,也不构成重大资产重组。
公告显示,江苏晶凯专注于存储芯片封装与测试制造服务以及存储晶圆分选测试服务。可为合作伙伴提供定制化整合介面服务、先进封装材料与工艺导入、封装方案定制、产能配套等为一体的算力芯片“中间件”服务。
从基本面看,江苏晶凯的财务数据并不亮眼。截至评估基准日,公司账面净资产3503.89万元,今年一季度实现营业收入1654.18万元,净利润亏损372万元。

江苏晶凯财务数据。图片来源:公告
经收益法评估,江苏晶凯股东全部权益价值评估值为3.61亿元,与账面净资产3503.89万元相比,增值率高达930.28%。
江苏晶凯需在2025-2028年实现经审计净利润分别不低于100万元、3500万元、4800万元和6100万元,四年累计承诺净利润达1.45亿元。针对2025年承诺不低于100万元这个相对异常数据的提问,截止发稿,公司尚未回复界面新闻。
据界面新闻记者测算,江苏晶凯2024年净利润1354.90万元,以此计算估值对应的市盈率(PE)约为34倍。相较国内封测龙头企业(深科技000021.SH、长电科技600584.SH、通富微电002156.SZ、华天科技002185.SZ)的估值水平偏低。
帝科股份在10月16日接受调研时表示,江苏晶凯拥有一支经验丰富的资深技术管理团队,稼动率满产状态下DRAM芯片封装业务毛利率平均在20%-30%之间,测试业务毛利率在50%左右,略高于同行业公司水平。

国内封测企业毛利率、PE情况 数据来源:Wind,界面新闻制图
“在整体的芯片封装测试领域,目前国内市场格局基本稳定。但先进封装是存在技术缺口的,在DRAM领域,尤其是AI服务器驱动的高带宽内存(HBM) 这类尖端产品上,技术门槛较高,国内的自给率较低。国内仅有少数企业(如深科技)公开表示具备HBM封装能力。”一位AI芯片领域业内人士向界面新闻记者表示,“江苏晶凯主要针对DRAM存储这一高景气赛道进行技术布局,并给出了较高的业绩承诺。但高达930.28%的溢价究竟是否合理,还存在不确定性。后续存储芯片业务还需要极大的资金、技术投入,能否实现业绩兑现要看企业的资金、订单具不具备稳定性和规模性。”
梳理2025年国内半导体封测行业多起并购案例,界面新闻记者发现,帝科股份收购江苏晶凯的溢价率明显偏高。
9月,芯联集成(688469.SH)通过发行股份及支付现金的方式,向滨海芯兴、远致一号等15名交易对方购买芯联越州72.33%股权,溢价率为132.77%;封装材料领域,华海诚科11.2亿元收购华威电子70%股权,后者为半导体封装材料(环氧塑封料)龙头,溢价率321.98%。
两度从张亚群夫妇手中收购资产
帝科股份2024年11月1日在互动平台回答投资者提问时表示,8月底,上市公司出资约1300万元持股因梦控股51%股权,根据相关规定该事项未达到信息披露的标准。
因梦控股主要从事存储芯片的应用开发与销售,目前产品为嵌入式存储芯片类的Dram芯片,主要用于机顶盒、手机、平板等领域。
天眼查显示,因梦控股于2024年7月由张亚群出资额2550万元成立,张亚群为公司法人。
界面新闻梳理财报数据发现,帝科股份未在2024年年报中披露因梦控股的经营情况,但年内因梦控股向张亚群控制的企业销售成品芯片7016.48万元、采购原材料、设备及服务共9107.19万元。也就是说,因梦控股去年发生关联交易合计1.61亿元。
透镜咨询创始人况玉清向界面新闻记者表示,因梦控股与其关联方之间的交易需要追踪最终的交易实质,“通过关联方完成交易,可能会存在诸多问题,比如:交易是否存在商业实质?定价是否公允?交易额是否可信等。”
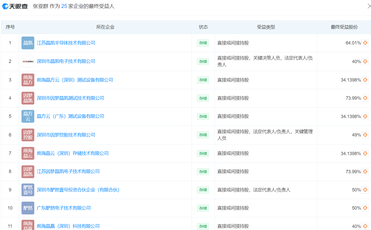
因梦控股的关联交易集中于张亚群夫妇控制的企业,界面新闻记者发现,张亚群夫妇产业版图涵盖存储芯片产品研发与制造、半导体与集成电路相关服务、智能装备与自动化系统等多个产业链,并能形成 “上下游通吃” 的闭环。
天眼查显示,张亚群、王树锋夫妇分别为25家、16家企业的最终受益人,二人以前海晶赢(深圳)科技有限公司为核心控股平台,实体企业主要包括深圳市晶凯电子技术有限公司(主营存储芯片及电子元器件)、前海晶方云(深圳)测试设备有限公司(主营存储芯片测试设备)、晶方云(广东)测试设备有限公司(主营半导体设备研发与制造、智能装备与集成电路)以及多家投资企业以满足资金需求。

张亚群旗下公司。图片来源:天眼查
此次花费3亿元收购的江苏晶凯,会否像因梦控股一样出现高额关联交易等问题?
界面新闻向帝科股份发送采访函,帝科股份回函未提及目前江苏晶凯与其关联方产生的业务往来情况,仅称此次收购不构成关联交易。
帝科股份还向界面新闻记者表示,今年上半年因梦控股实现营业收入1.89亿元,较2024年增长迅速,但未写明净利润金额。
帝科股份业绩、资金双双承压
对于帝科股份而言,这场跨界收购并非偶然,而是其摆脱光伏主业增长瓶颈的战略选择。
作为国内光伏银浆领域的龙头企业,帝科股份于2020年上市。近年业绩呈现“增收不增利”的尴尬态势:2025年上半年实现营业收入83.40亿元,同比增长9.93%,归母净利润6980.73万元,同比大幅下滑70.03%。核心业务光伏导电浆料(占比总营收的75%)毛利率8.73%,同比减少3.08%。

(选填)图片描述
金辰股份常务副总裁祁海珅曾向界面新闻记者表示,目前光伏行业需要新型浆料、新型工艺来降低度电成本,其中就包括降低银浆的使用量,少银化、无银化对于光伏厂商来说是一个必然面临的趋势。
帝科股份的资金状况也承压。截至今年上半年末,帝科股份账上货币资金余额为20.02亿元,表现上看足以覆盖此次收购金额,但其财务结构还存在两大潜在风险。
一是资产负债率和短期借款余额攀升。2021年末,公司资产负债率不到60%,到了今年上半年,已攀升至80.42%。
2022年末至2025年上半年,公司短期借款由15.6亿元上升至25.85亿元,增幅超过66%;应付票据由8.66亿元上升至20.02亿元。结合近几年公司的流动、速动比率变化,帝科股份的短期偿债能力明显减弱。
二是现金流情况并不乐观。上市以来,除了2024年,公司经营活动产生的现金流量持续均呈现净流出状态,今年上半年净流出3.3亿元。
因梦控股还对上市公司产生了2亿元应收款。财报显示,截止2024年末,前五名应收款对象第一名为因梦控股,期末余额2亿元,占其他应收款期末余额合计数的比例为67.31%,坏账准备期末余额为0.1亿元。
帝科股份的这桩收购案,面临的最核心挑战还在于跨界整合能力。光伏与半导体分属不同技术体系,运营逻辑差异显著:半导体封测行业以技术研发和极致质量管理为核心竞争力,而光伏行业目前仍处于去库存阶段,光伏厂商仍面临由技术快速迭代带来的对现有产能的颠覆性风险。
帝科股份目前缺乏半导体领域的核心管理团队与技术人才,如何实现光伏业务与存储封测业务的协同发展?
界面新闻也在采访函中问及此事,帝科股份回复记者表示,上市公司控股子公司因梦控股业务发展情况良好且具有良好的发展前景,本次交易协同效应明显,有利于促进公司存储业务快速发展。存储芯片业务将与上市公司存储板块体系产生协同效应,共同赋能并提升存储芯片的产业链价值。