原标题:七匹狼又做LP
投资界(ID:pedaily2012)11月19日消息,据天眼查信息显示,深圳市红土星舰一号私募股权投资基金合伙企业(有限合伙)注册成立,出资额约16.8亿元人民币,经营范围为以私募基金从事股权投资、投资管理、资产管理等活动。

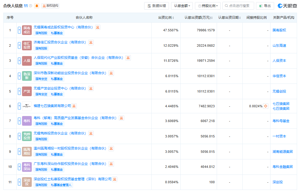
合伙人信息显示,该基金出资人主要包括,无锡国寿成达股权投资中心(有限合伙)出资近8亿元,占比约47.55%;济南佳汇投资合伙企业(有限合伙)出资超2亿元,占比约12%;人保现代化产业股权投资基金(安徽)合伙企业(有限合伙)出资近2亿元,占比约11.87%;无锡产发创业投资中心(有限合伙)出资超1亿元,占比约6%;福建七匹狼集团有限公司出资约7483万元,占比约4.45%。作为基金的执行事务合伙人,深创投红土私募股权投资基金管理(深圳)有限公司出资100万元。
图片来源:天眼查据悉,这并非七匹狼首次以LP身份参与股权投资——2022年8月,七匹狼发布公告,福建七匹狼实业股份有限公司全资子公司厦门七尚股权投资有限责任公司作为有限合伙人,与基金管理人暨普通合伙人上海正心谷投资管理有限公司签署了《苏州悦享股权投资合伙企业(有限合伙)合伙协议》。
>>>查看更多:股市要闻