“天下任我行,贵人鸟休闲运动鞋”,这是曾经的国民运动品牌——贵人鸟最耳熟能详的一句广告语。但现在,曾经的A股市场第一家运动品牌——贵人鸟这三个字或许将在资本市场彻底消散。
曾在体育用品界风光无限,邀请过刘德华、张柏芝等明星代言的贵人鸟,近日传来更名消息。
1月10日,已经退市进入三板交易的贵人鸟公告,近日,贵人鸟股份有限公司名称变更为金鹤农业股份有限公司(以下简称为“金鹤农业”),同时,多位董事、监事等发生变更。

贵人鸟2014年1月上市,成为中国A股运动鞋服第一股,不过在2024年3月,上交所决定终止公司股票上市,原因是连续20个交易日的每日股票收盘价均低于1元,触及终止上市条件。
有网友表示“太可惜了”,也有网友感叹“刚买就绝版”。

01
一代“鞋王”
贵人鸟由林天福于1987年在福建晋江创立,主要做运动鞋服。2002年,贵人鸟邀请刘德华担任品牌形象代言人,品牌迅速在竞争激烈的体育用品市场抢占一席之地。次年,张柏芝出任形象大使,品牌热度持续攀升。
此后,贵人鸟一路高歌猛进,高峰时期公司平均每天要新开3家实体店,实体门店数量一度超过5000家。
2014年,贵人鸟成功登陆上交所,成为A股首个运动品牌。2015年公司市值接近400亿元,其创始人林天福更是以190亿元的身家摘得“泉州首富”。
扩张的同时,公司资产负债率也不断上升,销售收入和销售利润还出现下降。2018年,公司销售收入下降13.52%至28.12亿元,且出现上市来首次亏损——归属母公司股东的净利润亏损6.86亿元。紧接着,2019年,公司又亏损10.96亿元,2020年再次亏损3.82亿元。
2021年4月,粮食贸易流通业第三方供应链服务平台泰富金谷成为公司重整投资人。泰富金谷主营业务为大米销售、粮食贸易、仓储加工等,公司法定代表人李志华被称为东北的“粮食大亨”。随后,以运动鞋服起家的贵人鸟便开始了向粮食贸易转型的道路。当年,贵人鸟扭亏为盈,归属于上市公司股东的净利润3.6亿元。
2022年8月,公司的实控人由创始人林天福易主为李志华,董事会选举李志华为公司董事长。
然而好景不长,2022年公司再次出现亏损,当年实现营收21.08亿元,归属母公司的净利润亏损0.09亿元。2023年9月,贵人鸟称将逐步退出运动鞋服业务,以粮食业务作为未来主要经营发展方向。
财报数据显示,2023年度,贵人鸟营收12.44亿元,同比下降40.98%;归母净利润更是亏损达5.91亿元。
2024年3月22日,贵人鸟收到上交所终止上市决定书,因长达20个交易日收盘价低于1元,触及退市底线,停牌前股价仅0.67元/股,市值大幅缩水至11亿元。
图片来源:贵人鸟官网截图02
从贵人鸟到金鹤农业
早在2021年,启动破产重组的贵人鸟开启跨行业“自救”,引入重整投资人黑龙江泰富金谷网络科技有限公司,后者将粮食业务注入。2022年8月12日,经董事会选举,李志华出任贵人鸟公司董事长。

2023年9月,贵人鸟股份有限公司发公告宣布,其打算优化调整公司经营业务,以粮食业务作为未来主要经营发展方向,逐步退出运动鞋服业务。
这也就意味着,贵人鸟未来将仅保留粮食业务和招商及代运营业务,结束经营了36年之久的运动鞋服业务。
根据贵人鸟早前公告,此次更名并非简单品牌重塑,而是战略发展规划的关键一环。
据了解,金鹤农业最大股东为黑龙江泰富金谷网络科技有限公司,该公司专注大米销售、粮食贸易、仓储加工等业务,涉及粮食供应链平台和订单农业合作等多个方向。
公开信息显示,2022年,金鹤农业旗下的金鹤玉粟(南通)食品有限公司购进世界先进鲜食米饭产线,企业的大米全产业链布局继续向下游延伸。2024年11月,“金鹤鲜食米饭”首款产品开始在抖音、小象超市等平台销售,主打卖点为“日本生产线无菌生产”。
李志华计划,金鹤玉粟鲜食米饭未来将推出20种系列产品,包括专为婴幼儿设计的小包装米饭产品和专为老年人设计的低糖米饭产品等。
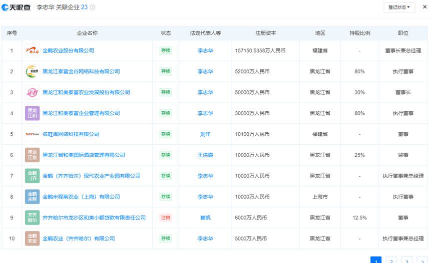
电商平台上主打销售东北大米的 “金鹤” 旗舰店,其背后所属企业是黑龙江和美泰富农业发展股份有限公司,该公司的法人代表为李志华。天眼查显示,李志华关联的企业多达23家,且这些企业大多涉及粮食业务、食品销售以及农业管理等相关领域。
2024年6月,李志华曾在接受媒体采访时表示,贵人鸟的全部营收将来自于粮食业务,两年后预计将有2亿—3亿元的利润,届时将寻找机会重回A股市场。
值得注意的是,2024年10月,贵人鸟和实际控制人李志华曾因信披违规被福建证监局处罚。福建证监局决定,对贵人鸟股份有限公司给予警告,并处以700万元罚款。此外,对李志华给予警告,并处以罚款1250万元。
>>>查看更多:股市要闻