来源:财事汇

2025年8月30日,兴银基金董事长职位在空缺五个月后迎来新任者,华福证券董事长兼总裁黄德良正式接任,市场普遍将此视为控股股东稳定公司治理的关键举措。
然而回溯近四年,兴银基金的治理与经营始终处于业界关注焦点:总经理岗位四年四换,平均任期不足1.5年;2024年4月至2025年1月半年内三位核心高管集中离任;2025年3月至8月董事长职位长期空缺,管理层高频变动引发战略连贯性担忧。

与此同时,兴银基金的投研团队呈现出明显的年轻化特征,近半数基金经理任职不足两年。2024年4只兴银基金(分别为兴银研究精选股票A、兴银先锋成长混合A、兴银丰盈灵活配置A、兴银鼎新灵活配置A)“踩雷”普利制药事件,也暴露出其在风控环节的短板。
财务层面上,2025年上半年兴银基金虽录得净申购,但资产管理规模同比却出现下滑,利息收入、投资收益以及利润总额均有不同程度下降,业务结构上固收类产品依然“一枝独大”。多重因素交织下,不禁让人怀疑,兴银基金的增长是否已触碰到天花板?
一、高管频换、岗位空缺:兴银基金的治理隐忧
兴银基金管理有限责任公司成立于2013年10月,前身为华福基金,并于2016年10月正式更名为兴银基金。
在股权结构上,公司由华福证券与国脉科技共同持股,其中华福证券持股76%,为控股股东,国脉科技持股24%。作为福建省属国有金融机构,华福证券的股东背景较为复杂,包括福建省金融投资有限责任公司(持股56%)、福建省投资开发集团有限责任公司(持股33.71%)、兴业国际信托有限公司(持股4.4%)、漳州市国有资本运营集团有限公司(持股3.6%)等。其中,通过兴业国际信托的股权穿透可见,兴业银行亦间接持有华福证券股份,这也使兴银基金在股东背景上带有一定的“兴业系”色彩。


不过,过去四年里,兴银基金的治理层面始终存在核心矛盾,表现最突出的就是管理层的频繁更迭。这不仅打乱了战略推进的节奏,也引发了外界对其治理机制的质疑。自2021年3月至2025年1月,公司总经理一职先后由张力、张贵云、赵建兴、易勇四人担任,平均任期不足1.5年。
与此同时,2024年4月至2025年1月间,督察长、财务总监、副总经理三位核心高管也相继离任。更为严峻的是,2025年3月至8月,董事长岗位出现了长达五个月的空缺。关键岗位的“真空期”与人事的密集调整叠加,对团队凝聚力和战略执行力造成了直接冲击。在如何稳定管理层方面,或许仍需兴银基金提出明确的长效措施。
2025年8月,华福证券董事长黄德良兼任兴银基金董事长,被解读为股东方直接介入治理,意在“稳定军心”并推动“战略协同”。这一做法在券商系公募中并不罕见,通常有助于加强客户资源共享、产品代销与投研合作。但潜在风险也不容忽视:若股东过度干预投研和产品策略,基金公司的独立性可能削弱,投资方向更容易偏向服务股东业务,而非遵循市场化原则,从而影响权益投研能力与产品创新动力。
目前,在治理边界与风险隔离机制方面,兴银基金尚未披露与华福证券的具体划分。理想状态下,券商系公募应当具备健全的独立法人治理结构,董事会、监事会和经营层依章程独立运作,投决会、风控会独立行权,不受股东直接干预。在业务协同中,也应划清边界,例如防止客户信息泄露、保持投研独立性等。然而,相关机制至今未公开,“协同”与“独立”之间如何平衡,依旧是市场关注的焦点。
二、固收撑起九成规模,权益板块难挑大梁
从整体业务结构来看,兴银基金呈现出明显的“固收依赖”特征。2025年上半年数据显示,公司债券基金净资产为594.74亿元,货币基金规模399.41亿元,两者合计994.15亿元,占到2025年8月25日总规模1103.67亿元的九成以上,权益类产品占比极低。这种结构在短期内为公司提供了稳定的规模基础,但长期却限制了发展空间,同时也加大了对机构资金的依赖。


虽然公司未披露固收类产品的客户构成,但市场普遍推测机构客户占比更高。一方面,券商系基金依托股东资源,更容易获得银行、保险等机构的配置;另一方面,货币基金和债券基金的大额申赎多来自机构,若机构客户比例超过一半,集中赎回风险就会大幅提升。2024年已有多家基金公司因机构集中赎回触发巨额赎回条款,不得不暂停赎回或调整限额,这种风险对兴银基金同样存在。
投研团队方面,公司呈现年轻化特征,截至2025年9月1日共有15位基金经理管理63只产品,人均约4只,近半数任职不足两年,仅5人任职超过五年,基金经理任期短一方面可能与主动离职和行业激烈竞争有关,另一方面则源于内部新人培养。虽然年轻化体现了公司在人才上的投入,但新人缺乏实战经验,加之“一人多管”的普遍现象使得精力分散,难以对不同产品进行深入研究,容易导致业绩波动,2024年“踩雷”普利制药事件便折射出其在个股研判与风控上的不足。

从兴银基金旗下权益类产品的表现来看,虽然近一年受益于市场行情反弹,多数基金取得了较高收益率,例如兴银景气优选混合A/C涨幅超过65%,兴银研究精选股票C上涨近50%,兴银中证科创创业50指数系列基金也录得超过80%的区间收益,但把时间拉长,长期回报普遍不佳。典型案例如:兴银高端制造混合A,过去一年上涨34.18%,但三年跌幅仍达-11.56%,成立以来累计亏损-17.83%;兴银景气优选混合A尽管短期表现抢眼,成立以来仍为-8.66%;兴银研究精选股票C近三年下跌-2.15%,成立至今累计收益仅0.62%,几乎原地踏步。

兴银中证科创创业50指数系列基金虽然短期反弹迅猛,但单位净值依然低于1元,投资者自成立以来大概率仍处于亏损状态,且E类份额规模仅0.14亿元,接近清盘线。类似的,兴银科技增长1个月滚动混合A、C规模分别为0.95亿元和0.13亿元,也面临体量过小的困境。规模不足推高了交易成本比例,降低运作效率,还容易引发因担忧清盘而出现的赎回潮,形成“规模缩水—业绩波动—赎回加剧”的恶性循环。
不难看出,在权益类产品方面,兴银基金权益类产品短期弹性大,但缺乏长期稳定性,波动率过高且抗风险能力不足,规模普遍偏小,既限制了基金经理在仓位和风格调整上的灵活性,也使投资者的持有体验不佳。兴银基金在固收业务上的优势掩盖了权益投资的薄弱环节,短期规模稳健但长期成长性有限,投研团队经验不足与产品体量偏小叠加,使其在权益市场的竞争力依旧偏弱。

三、规模与收益背离,利润增长受阻
从兴银基金的财务数据来看,截至2025年6月30日,公司呈现出多重“反差”与“下滑”,反映出在规模管理、资产配置和收益获取上的挑战。
今年二季度期间,兴银基金共申购701.12亿份、赎回568.73亿份,净申购达到132.39亿份,但同期资产管理规模却从2024年6月底的1284.56亿元下降至2025年8月下旬的1103.67亿元,出现了“份额增加、规模下滑”的矛盾现象。核心原因或在于产品净值走低,导致规模增长被抵消,即便份额实现净增,整体规模依旧出现缩水。

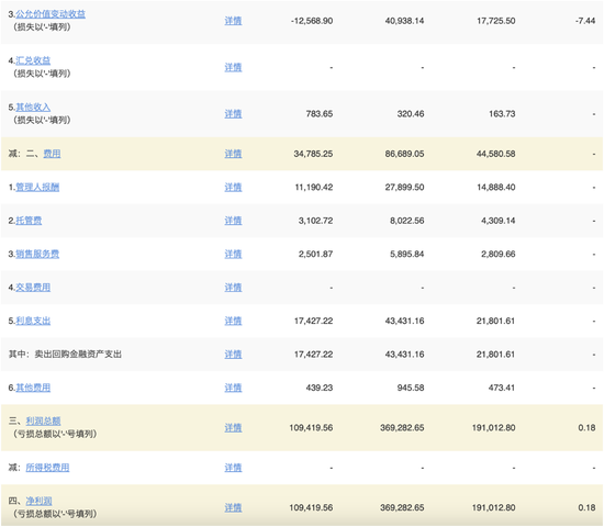
收入端显示,2025年上半年兴银基金利息收入、投资收益同比下滑,公允价值变动收益由正转负,多因素拖累整体收入。
从利息收入来看,2025年上半年为48506.53万元,较2024年上半年67424.39万元下滑28.06%,其中存款利息收入从9482.76万元降至4039.10万元,跌幅超57%,债券利息收入从38728.96万元微降至38504.60万元。
存款利息下滑或因两方面:一是配置比例下降,公司减少银行存款,转向债券、ABS等资产;二是收益率下降,2024-2025年市场利率下行,存款利率降低。债券利息微降或与持仓调整相关,如减少高票面利率债券持仓,或到期后未补入同等利率债券。

2025年上半年兴银基金投资收益为107483.53万元,较2024年上半年150279.76万元下滑28.48%,结构呈“股票收益转正、债券收益大跌”的态势,其中,股票投资收益从-16359.69万元转为10692.54万元,原因包括2025年上半年A股部分行业(如科技、消费)行情回暖,及公司优化权益持仓、减持差股增持高景气标的。债券投资收益从166313.79万元降至95749.64万元,跌幅超42%,此外,衍生工具收益从-2842.54万元改善至-1579.48万元,风控能力提升但仍亏损。
公允价值变动收益由2024年上半年17725.50万元转为2025年上半年-12568.90万元,源于资产市值波动——交易性金融资产期末公允价值低于期初即产生损失。权益类资产公允价值波动通常大于固收类,因此收益转负或因权益资产市值下跌;此外利率上行导致债券价格下跌,也可能引发固收类资产公允价值损失。但兴银基金未披露各资产对公允价值变动的贡献,无法判断核心影响因素。

利润端,2025年上半年利润总额109419.56万元,较2024年上半年191012.80万元下滑超42%,除收入端因素外,费用变动也有影响。2025年上半年总费用34785.25万元,较2024年上半年44580.58万元下降22%,其中管理人报酬从14888.40万元降至11190.42万元,托管费从4309.14万元降至3102.72万元,销售服务费从2809.66万元降至2501.87万元,费用下降缓解部分利润压力,但未扭转下滑趋势。此外,利息支出从21801.61万元降至17427.22万元,反映负债管理优化,或因卖出回购业务规模减少,或市场回购利率下行。
兴银基金2025年上半年财务面临多重压力,规模与份额反差反映净值波动影响,收入端多项目下滑与公允价值转负共同导致利润大跌。未来若要改善财务状况,需在稳定规模、优化资产配置、提升投研与风控能力上采取有效措施。(《理财周刊-财事汇》出品)
>>>查看更多:股市要闻