(来源:川商)
今(16)日,记者从阿里司法拍卖平台获悉,万腾实业集团有限公司(以下简称“万腾实业”)持有的四川天府金融租赁股份有限公司(以下简称“天府金租”)10%股权将于10月18日在该平台公开拍卖,起拍价为1.26亿元,评估价为1.71亿元。

万腾实业持股10%
起拍价为1.26亿元
公司官网介绍,天府金租由四川天府银行发起,于2016年12月12日正式开业,注册地位于四川省成都市,是四川首家金融租赁公司。企查查信息显示,四川天府银行持股比例为60.9%,万腾实业持股10%。

企查查显示,万腾实业成立于2006年,注册地位于四川省成都市,注册资本3.715亿元,所属行业为房地产业。经营范围包含:项目投资;房地产开发;商品批发与零售;房屋租赁等。股权结构方面,大股东成都三腾投资控股有限公司持股53.8358%,前法定代表人吴昊持股46.0794%,现法定代表人周郁珩持股0.0848%。

资本大佬之困:
被执行总金额已高达14.459亿元
记者注意到,万腾实业背后的吴昊,曾是四川资本界的重要人物。公开资料显示,吴昊出生于1973年,毕业于四川大学企业管理与经济法专业。从资本逻辑上看,吴昊以万腾实业发家,完成了资本积累。
据界面新闻报道,早在2016年,万腾实业就已形成金融、地产与能源三大核心产业,拥有控股、参股企业20余家,员工逾千人,公司资产规模逾300亿元。
2016年万腾实业官网页面,图源:界面新闻另外,2016年,吴昊直接持有上市公司宝莫股份5.58%的股权,并通过表决权委托方式掌控了16.11%的表决权,合计持有21.69%的表决权,成为宝莫股份的实际控制人与控股股东。
2017年,吴昊直接及通过西藏泰颐丰共计持有宝莫股份21.38%的股权。
2010年上市的宝莫股份是一家精细化工及环保水处理公司,主要产品包括丙烯酰胺、聚丙烯酰胺、表面活性剂等。吴昊入主宝莫股份后,公司的业绩表现便迅速变脸。2017年,宝莫股份的营业收入为4.10亿元,同比下滑54.36%;归母净利润0.08亿元,同比下滑44.23%。且此后一直到2022年,宝莫股份的营业收入始终未回到2016年的水平。
在上市公司业绩不振的同时,吴昊自身的资金状况也出现了问题。2023年8月,宝莫股份发布公告称,吴昊持有的公司5.58%股份被司法冻结。并表示,吴昊正在与申请司法冻结的债权人进行积极沟通,争取早日妥善解决上述司法冻结事项。
在此背景下,吴昊开始筹划套现。2023年10月,宝莫股份便发布了控制权拟发生变更的公告。与7年前吴昊进场时相比,宝莫股份15.80%股权的价格由13.56亿元降至4.50亿元,缩水66.81%。这此次股份转让中,吴昊的浮亏达到了9.06亿元。
截至2024年1月8日收盘,宝莫股份15.8%的股权对应市值为6亿元,同是四川地产商人的罗小林、韩明夫妇以4.5亿元对价“抄底”了宝莫股份实控权。
同年3月24日,四川省成都市中级人民法院公布的两则被执行人信息显示,吴昊被执行总金额已高达14.459亿元。

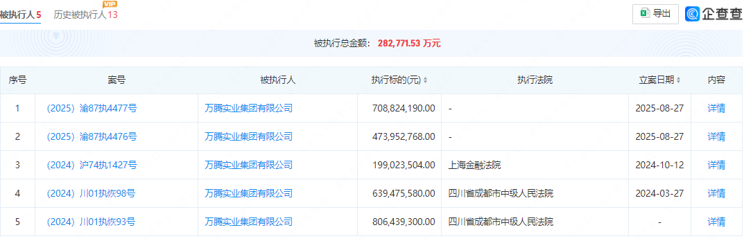
如今,万腾实业也面临严峻的困境。目前公司存在5条被执行人信息,被执行总金额已超过28亿元。
丨来源:川商传媒报道丨