每经记者|王琳 每经编辑|文多
近日,车规级芯片公司琻捷电子科技(江苏)股份有限公司(以下简称琻捷电子)向港交所递交招股书(申请版本,下同),以上市规则第18C章项下特专科技公司身份寻求上市。
记者注意到,在报告期内(2022年至2024年各年度与2025年上半年,下同),作为琻捷电子股东旗下附属公司的客户F,逐步成为琻捷电子第一大客户。今年上半年,来自客户F的销售收入已占琻捷电子总收入的20%以上,而且是琻捷电子前五大客户中唯一一家直销商。
此外,琻捷电子在2022年以总价超1亿元收购了聚洵半导体科技(上海)有限公司(以下简称聚洵半导体)100%股权,转让方包括科隆股份(300405.SZ)、张智才等。然而,琻捷电子到了2023年即对聚洵半导体计提了商誉减值准备7610万元。
值得一提的是,在上述股权交易正式完成前的2022年4月、9月,张智才等多名交易对手正式成为琻捷电子的间接股东。
另一方面,2021年入股聚洵半导体的科隆股份,在2022年通过转让上述股权产生收益2307万元。

图片来源:琻捷电子招股书(申请版本)截图
根据招股书,按2024年收入计,琻捷电子为全球第三大汽车无线传感SoC(系统级芯片)公司,也是中国最大的汽车无线传感SoC公司。
从业绩表现来看,琻捷电子报告期内营业收入分别为1.04亿元、2.23亿元、3.48亿元和1.57亿元,业务规模并非很大。且公司尚未实现盈利,报告期内亏损额分别为2.05亿元、3.56亿元、3.51亿元和1.43亿元。
琻捷电子的销售模式分为分销和直销两种。在2022年和2023年,退出琻捷电子销售体系的分销商分别为40家和150家,增加的新分销商数量分别为218家和222家。但到了2024年和2025年上半年,退出的分销商分别达到356家和97家,同期仅分别增加新分销商58家和34家。这也使得琻捷电子的分销商数量从2023年末的480家快速下降,至2024年末、2025年上半年末分别为182家、119家。
那么,为何2024年度和2025年上半年有大量分销商退出琻捷电子销售体系,同时增加的新分销商数量又较之以前减少了?
在2022年和2023年,琻捷电子前五大客户中均有3家为直销客户,在2024年的前五大客户中,有2家为直销客户,但到了2025年上半年,其中仅有1家直销客户——即客户F。
值得一提的是,客户F是琻捷电子股东旗下附属公司。客户F在2024年和2025年上半年都是琻捷电子的第一大客户,为琻捷电子分别贡献了期内总收入的25.2%和22.9%。

图片来源:琻捷电子招股书(申请版本)截图
记者注意到,琻捷电子在报告期内还进行了一宗数额较大的股权收购交易。
2022年5月,琻捷电子从A股上市公司科隆股份处收购了聚洵半导体51%的股权,交易价格为5970万元。同时,琻捷电子还从自然人张智才和蒋宇俊处分别收购了聚洵半导体17.54%和8.36%的股权,交易价格分别为2924万元和1394万元。
在2022年10月,琻捷电子又从上海语融电子技术服务部、深圳华秋电子有限公司(以下简称华秋电子)、深圳市嘉立创投资有限公司(以下简称嘉立创)和上海禅生半导体科技有限公司(以下简称上海禅生)处,收购了聚洵半导体11.10%、5.00%、5.00%和2.00%的股权,交易价格分别为1110万元、500万元、500万元和200万元。
至此,琻捷电子总共耗资约1.26亿元获得了聚洵半导体100%股权。
值得一提的是,琻捷电子在招股书中表示,公司在收购聚洵半导体的初始交易中确认了商誉金额7610万元,该金额为可识别净资产4210万元与现金对价1.182亿元之间的差额。
而到了2023年,琻捷电子即对上述因收购聚洵半导体而产生的7610万元商誉全额计提了减值损失。琻捷电子在招股书中对此仅表示,这是因为聚洵半导体的业务和财务表现。
那么,为何在琻捷电子完成收购后的第二年,聚洵半导体的业绩表现就与当初预期相差如此之大呢?

图片来源:琻捷电子招股书(申请版本)截图
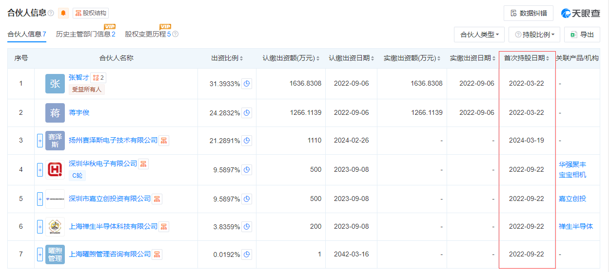
琻捷电子收购聚洵半导体的背后并不简单。
据天眼查,琻捷电子收购聚洵半导体时的交易对象中,华秋电子、嘉立创、上海禅生分别持有共青城英锐创投资合伙企业(有限合伙)(以下简称共青城英锐创)9.5897%、9.5897%和3.8359%的出资份额比例(正式入股时间为2022年9月)。此外,自然人张智才、蒋宇俊持有共青城英锐创31.3933%、24.2832%的股份(持股自2022年3月起)。

图片来源:天眼查截图
共青城英锐创的执行事务合伙人为上海曜煦管理咨询有限公司,后者是琻捷电子执行董事徐红如全资拥有的公司。
根据招股书,共青城英锐创现持有琻捷电子1.96%的股份。天眼查显示,共青城英锐创成立于2022年3月份,其在2022年4月份即正式入股了琻捷电子。
琻捷电子从张智才和蒋宇俊处收购聚洵半导体股权的过程发生在2022年3月至5月。2022年3月,琻捷电子签订了聚洵半导体股权购买协议,在2022年5月获得对聚洵半导体的控制权。
琻捷电子是在2024年11月由南京英锐创电子科技有限公司(以下简称南京英锐创)更名而来,当时名字中也有“英锐创”三个字。
此外,科隆股份是在2021年6月份以4940万元的价格收购了聚洵半导体51%的股权。而在2022年5月以5970万元的价格将聚洵半导体51%股权出售给琻捷电子之时,科隆股份还获得了聚洵半导体2021年已分配但尚未支付的股东分红款1530万元。据科隆股份2022年年报,通过对聚洵半导体51%股权出售,科隆股份产生收益2307万元。
对于本文中存在的疑问,《每日经济新闻》记者于9月16日向琻捷电子发去采访函,但琻捷电子方面回复称,公司正处于IPO静默期,暂不方便回复采访。
>>>查看更多:股市要闻