当前位置: 爱股网 > 股票新闻 > 正文

首仿突破!华润双鹤波生坦分散片获批,打破原研80%涨幅垄断

时间:2025年09月30日 17:02

(来源:摩熵医药大数据)

9月28日,据NMPA官网最新公示,$华润双鹤(600062)全资子公司华润双鹤利民药业(济南)申报的4类仿制药“波生坦分散片”获批上市并视同过评,是国内第一家获批并过评的药企。摩熵医药数据库显示,波生坦分散片近3年涨幅达80%。

截图来源:NMPA截图来源:NMPA

波生坦原研药由Actelion公司研发,片剂于2001年获FDA批准用于成人及儿童肺动脉高压(PAH)治疗。2019年9月,原研波生坦分散片获NMPA批准上市,成为国内首个儿童PAH专用治疗药,且同年通过医保谈判进入国家医保和被列入CDE发布的《第二批临床急需境外新药名单》。摩熵医药数据显示,波生坦分散片其获批后快速放量,近3年销售额涨幅达80%,2024年销售额突破1700万元,同比增长21.84%。

截图来源:摩熵医药全终端截图来源:摩熵医药全终端

销售数据库

波生坦在国内上市初期,价格极为高昂,每盒高达2.7万元,2010年下降为19980元/盒,2015年专利到期后价格再次下调,2016年起每盒为3998元(规格为125mg56片/盒)。该药市场一直被原研企业垄断,此次,华润双鹤申报的波生坦分散片获批上市,为国内首仿,打破了原研垄断的局面。

截至目前,在国内波生坦分散片的产品布局领域,仅有江苏天士力帝益药业提交了4类新注册仿制申请,该申请目前正处于审评审批阶段。

截图来源:摩熵医药中国药品审评数据库截图来源:摩熵医药中国药品审评数据库

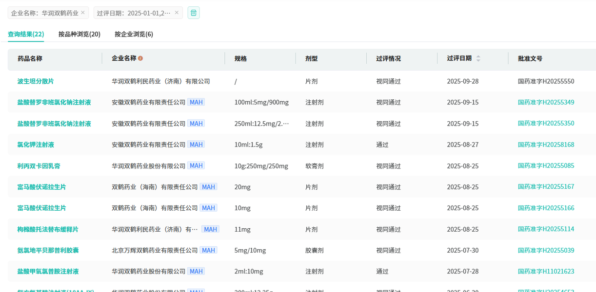
2025年以来,$华润双鹤(600062)(含子公司)药品研发成果显著,共有20款品种成功获批并通过一致性评价。从剂型分布看,注射剂占据主导地位,占比达55%;片剂次之,占比25%。值得一提的是,波生坦分散片成为公司本年度首个斩获的首仿药物。

截图来源:摩熵医药过评药品汇总数据库截图来源:摩熵医药过评药品汇总数据库

在研发管线推进方面,阿奇霉素分散片、氨氯地平贝那普利胶囊、非诺贝特酸胆碱缓释胶囊、富马酸伏诺拉生片、枸橼酸托法替布缓释片及氢溴酸伏硫西汀片等6个品种均已完成生物等效性(BE)试验,后续申报进度值得期待。

查看更多董秘问答>>

热门新闻

>>>查看更多:股市要闻 内参消息 实时内参 财经日历