(来源:涂料采购网)
亚士创能10月14日公告称,公司控股股东上海创能明投资有限公司及实际控制人李金钟所持有的全部公司股份被轮候冻结。

公告显示,控股股东创能明持有公司股份78,655,500股,实际控制人李金钟持有20,295,000股,分别占公司总股本的18.35%和4.74%。本次被轮候冻结的股份数量均占其各自持有公司股份的100%。此外,包括一致行动人在内,控股股东方面合计持有公司股份约2.28亿股,其中累计被冻结数量约为2.01亿股,占其持股总数的88.11%,占公司总股本的46.88%。

亚士创能表示,此次冻结源于员工持股计划相关问题。据悉,该员工持股计划存续期届满后出现严重亏损,创能明及实控人李金钟在承担部分持有人兜底责任后,因资金周转困难,暂时无法兑现所有兜底清偿金额,导致其中一名持有人庄某申请财产保全,继而由上海市青浦区人民法院对相关股份实施了司法冻结。
入不敷出 亚士创能资金链“告急”
由于国内房地产行业的持续下行,亚士创能深受其拖累,连续两年亏损(2024年亏损3.29亿元,2025年上半年亏损1.92亿元),经营活动现金流持续为负,主业造血能力丧失。
从亚士创能近三年的业绩报表来看,自2024年第1季度以来,亚士创能出现入不敷出的情况,2025年上半年经营活动现金流净额为-1.96亿元,同比虽改善2.09亿元(2024年同期为-2.17亿元),但仍处于深度负值区间。

早在2025年3月,就有公开信息显示,亚士创能子公司“亚士漆(上海)有限公司”发生票据逾期,金额约583.37万元。进入2025年上半年,亚士创能遭遇“多起银行抽贷压贷事件”,部分商票、应付账款及借款未能按期支付,导致被诉案件大量增加,部分资产和银行账户被查封冻结,甚至被列为被执行人。可以说,此次“最惨中报”是长期积累问题在极端市场环境下的集中爆发。
而根据相关数据显示,亚士创能的短期借款高达18.4亿元,创下十年最高值。从流动比率来看,2025年上半年的流动比率为0.52,有息资产负债率46.92%,货币资金/流动负债比例仅7.87%,短期偿债能力堪忧。18.4亿元的短期借款该如何偿还呢?

根据亚士创能披露,亚士创能9月新增1笔9800万元子公司为母公司提供的抵押担保,同时公布累计担保余额及逾期担保累计5474万元,引发市场对其资金链与担保风险的关注。
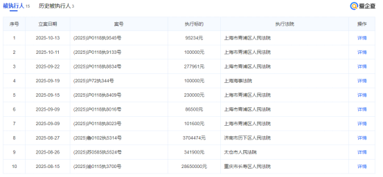
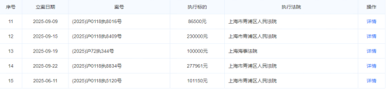
3个月被执行3414万元 董事长被限高
根据公开消息显示,自6月份以来,亚士创能被执行案件高达15起,涉及金额更是高达3414.183万元,与此同时,自7月份以来,亚士创能的实际控制人李金钟已经连续两次被限制高消费,面对如此困境,亚士创能债务危机这道难题应该如何解?



变相降薪裁员,亚士创能遭集体维权
根据亚士创能《关于B端一线业务人员过渡方案》显示,在7~9月过渡期内,员工月薪调整为当地最低工资标准,同步签署薪资确认单,原月薪高于最低工资标准差额部分暂记为资金。
以员工原月薪基数人工成本及其他产生的费用作为月成本核算依据,由经营部门倒推出覆盖成本所需的月度1.25倍销售毛利额或3倍以上回款额作为过渡期月度考核目标。
如果员工在月度考核期内完成相应销售毛利额目标或者回款目标,则次月工资中补发上述资金部分,反之不发放;如员工在月度考核期内同时有销售毛利额和回款,两者数据叠加可覆盖其所需成本(以经营核算为准),则次月工资中补发上述奖金部分,反之不发放;如员工过渡期内完成累计考核目标,则次月工资中补发月度奖金未发放部分。
如员工在过渡期内未完成累计考核目标,则员工作为优化对象,立即淘汰,如员工在过渡期内完成累计考核目标,则视完成情况及排名确定是否恢复。
与此同时,受近年来业绩持续走低的拖累,亚士创能的资金链已然千疮百孔,出现了极为严峻的问题。拖欠供应商货款、拖欠员工薪资等情况频繁发生,甚至已演变成一种“常态”。据可靠消息透露,目前已有几百名在职及离职员工共同踏上维权之路,选择通过司法途径来讨回被拖欠的薪资,以维护自身的合法权益。



自2022年起大规模裁员,到2024年底员工人数仅剩2065人,较2021年裁员2996人,裁员比例高达59%。
当前,亚士创能已然站在了暴雷的悬崖边缘。企业财务状况每况愈下,营收与利润如同失控的滑梯,持续大幅下滑。现金流更是如干涸的河床,几近枯竭。高负债率与沉重的债务负担已然岌岌可危。而那巨额的应收账款随时可能引发一场毁灭性的坏账危机。
在企业内部,裁员与欠薪的阴霾笼罩,人心惶惶;外部,供货纠纷频发,法律诉讼如影随形,让公司疲于应对。再加上所处行业正深陷困境,市场竞争日益激烈,不断挤压着公司的生存空间。如此内忧外患之下,亚士创能的暴雷,或许真的只是时间早晚的问题了。
(本文由涂料采购网整理发布,转载请注明出处,如未经许可或未注明出处,将追究法律责任)
>>>查看更多:股市要闻