(来源:电力四射)
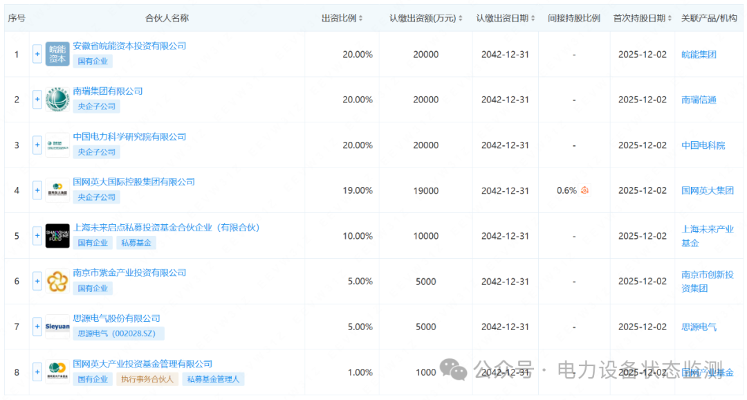
近日,国网(上海)创业投资合伙企业(有限合伙)成立,执行事务合伙人为国网英大产业投资基金管理有限公司,出资额10亿人民币,经营范围为创业投资,以私募基金从事股权投资、投资管理、资产管理等活动。合伙人信息显示,该合伙企业由国家电网旗下中国电力科学研究院有限公司、南瑞集团有限公司、思源电气(002028)等共同出资。


免责声明:本文系网络转载,版权归原作者所有。所转载文章并不代表本公众号赞同其观点和对其真实性负责。但因转载众多,无法确认真正原始作者,如涉及作品版权问题,请及时联系我们,我们将删除内容以保证您的权益!
>>>查看更多:股市要闻