(来源:广东省半导体行业协会)
近期,厦门三安光电、乾照光电、思坦科技、秋水半导体、南极光电子、微玖光电等企业陆续公示Micro LED相关专利最新进展;涉及Micro-LED芯片制备、柔性Micro LED制备、巨量转移技术等,致力于提升Micro LED发光均匀性、出光效率、良率、显示性能等。
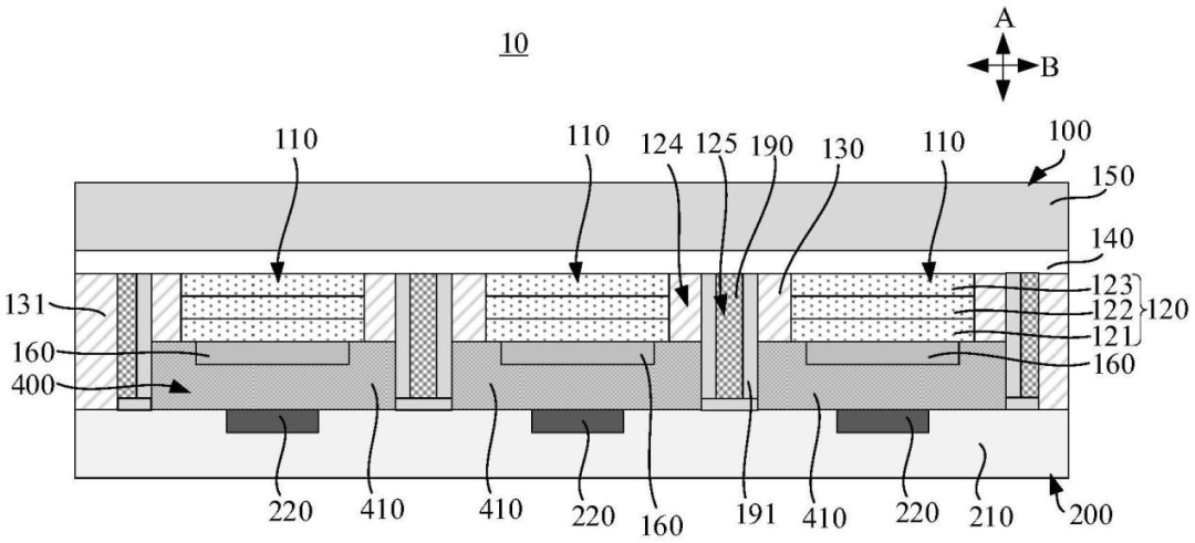
■ 三安光电:发光二极管及发光装置
近日,厦门三安光电有限公司“发光二极管及发光装置”的专利进入有效授权阶段。
本发明涉及半导体制造技术领域,特别涉及一种发光二极管,其包括第一半导体层、发光层、第二半导体层、第一粗化结构和第二粗化结构。
发光层位于第一半导体层上,定义发光层未覆盖到的第一半导体层的上表面为台面,第二半导体层位于发光层上,第一粗化结构和第二粗化结构均位于第一半导体层下,第一粗化结构的水平投影位于发光层的水平投影内,第二粗化结构的水平投影位于台面的水平投影内,第一粗化结构的深度大于第二粗化结构的深度。通过在对应于发光层的第一半导体层下表面设置较大的第一粗化结构,在对应于台面的第一半导体层下表面设置较小的第二粗化结构,能够解决芯片的中心和边缘发光强度差异大的问题,满足Micro LED芯片光型均匀的显示要求。

■ 乾照光电:一种LED芯片
扬州乾照光电、江西乾照半导体科技“一种LED芯片”的专利进入有效授权阶段。
本实用新型提供了一种LED芯片,通过将DBR反射镜设置在第二型半导体层与过渡层之间,且所述DBR反射镜具有多个开口以裸露所述外延叠层的部分第二表面,如此即可获得到图形化的DBR反射镜,从而将射向所述第二型半导体层的光通过DBR反射镜进行反射后从第一型半导体层一侧出射,藉以获得反极性结构;同时,通过所述开口和过渡层的设置,在确保所述DBR反射镜到所述电流扩展层的晶格和/或带隙的过渡的同时,所述第二型半导体层与电流扩展层的接触不受阻碍,进而可较好地实现电流扩散,从而保证LED的电性要求。
也即,本申请通过在外延端实现上述有益效果,进而可使LED芯片在保证LED的电性要求的同时,具有较高的出光效率。尤其适用高功率LED和小尺寸(如Mini、Micro)LED。

■ 思坦科技:一种柔性Micro-LED及其制备方法、显示装置
近日,深圳市思坦科技有限公司一种柔性Micro-LED及其制备方法、显示装置进入有效授权阶段。
柔性MicroLED的制备方法包括获取外延片和柔性基板;在外延片远离衬底的一侧蚀刻形成多个相间隔的PN结;在每一个PN结远离衬底的一侧喷涂第一导电层;每一个PN结与一个第一导电部对位键合;在第一CPI膜远离基板的一侧涂覆有所述第五光刻胶,第五光刻胶上蚀刻有多个相间隔的光刻槽,在每一个光刻槽中填充有一个量子点;在第二CPI膜远离基底的一侧贴附多个相间隔的滤色片;每一个滤色片与一个光刻槽对位键合,剥离基底,以形成柔性MicroLED。
通过剥离基底而使用CPI膜取代,减小了MicroLED的厚度,通过柔性的CPI膜、银纳米线导电层、柔性光刻胶等柔性材料的选取和加工与软性基板键合以形成柔性MicroLED。

■ 苏州秋水半导体:Micro-LED显示芯片以及其制备方法
近日,苏州秋水半导体科技有限公司“Micro-LED显示芯片以及其制备方法”进入审中公布阶段。
该MicroLED显示芯片包括以层叠方式彼此键合的显示基板以及驱动基板,显示基板包括发光外延层、第一介质填充层及第一介质填充层:发光外延层内设置有第一介质填充区,第一介质填充区沿层叠方向贯穿发光外延层,以将发光外延层分隔成阵列分布的多个像素单元;第一介质填充层填充于第一介质填充区内,其中第一介质填充层内设置有金属填充区,沿层叠方向,金属填充区的深度不小于发光外延层的厚度;金属填充层填充于金属填充区内,并用于反射发光外延层内产生的光线。
通过上述方式,能够使得Micro‑LED显示芯片的表面更加平整,以使得在工艺过程中其表面应力分布更加均匀,以提升Micro‑LED显示芯片的良品率。

■ 南极光电子:Micro-LED巨量转移方法
近日,深圳市南极光电子科技股份有限公司“Micro-LED巨量转移方法”进入审中公布阶段。
本发明提供MicroLED巨量转移方法,涉及MicroLED显示技术领域,适用于高分辨率显示及车载显示等领域。该方法通过应力场电场耦合拾取、热场流场协同释放,结合光学闭环控制实现高精度转移;采用梯度界面能涂层和跨尺度弹性设计,将芯片损伤率降至2.5ppm;集成深度学习缺陷检测与激光修复,面板良率达97.5%。
通过多尺度自适应调控和智能路径规划,转移效率达28万颗/小时,支持550μm多尺寸芯片异质集成,解决了传统方法精度低、损伤高、效率差的问题,满足量产需求。可满足8K及以上超高分辨率显示面板的像素级定位要求,解决了微小尺寸芯片转移精度不足的行业痛点。结合原位激光修复技术,进一步将面板总良率提升,大幅减少材料浪费和生产成本。

■ 微玖光电:2则Micro LED专利更新进度
12月2日,微玖(苏州)光电科技有限公司2则Micro LED相关专利分别进入审中公布、有效授权阶段。
“一种新型全方位磁吸Micro-LED成品结构”专利进入审中公布阶段
新型全方位磁吸MicroLED成品结构包括封装散热、光学装配、线路导通三大功能模块,各模块分别设有相互匹配的磁吸部件,磁吸部件由磁性载体与磁性单元组成,通过磁性吸附实现模块可拆卸连接,且位置与磁性参数适配以保障自动对位、稳定连接及功能协同,其中,封装散热模块的FPC基板与散热块通过磁吸配合并涂覆高导热硅脂;光学装配模块的透镜与发光面经磁吸替代点胶;线路导通模块的上端子与下端子为平面结构,配电磁控制电路调节磁吸;
本发明实现模块快速自动对位,组装效率大大的提升,减少机械损伤,降低返修成本,适配AR/VR显示模组等多种场景,具有高产业化价值。

“一种提升AlGaInP红光MicroLED发光性能的方法”的专利进入有效授权阶段
本申请公开了一种提升AlGaInP红光Micro LED发光性能的方法,包括如下步骤:S1,外延结构制备:衬底与缓冲层处理、刻蚀阻挡层与欧姆接触层生长、功能层堆叠外延;S2,硅基衬底图形化;S3,外延片预处理与Mesa刻蚀;S4,侧壁修复与湿氧化处理;S5,二次外延与侧壁钝化;S6,金属反射层与保护层制备;S7,键合与衬底去除;S8,n侧电极与性能优化;
本申请克服了现有AlGaInP红光Micro LED在小尺寸、高PPI场景下,因侧壁非辐射复合加剧、载流子横向泄露、侧壁易腐蚀导致的发光效率低、稳定性差的缺陷,通过“外延层湿氧化层设计+多工艺协同优化”的制备方法,实现发光性能与工作稳定性的同步提升。

>>>查看更多:股市要闻