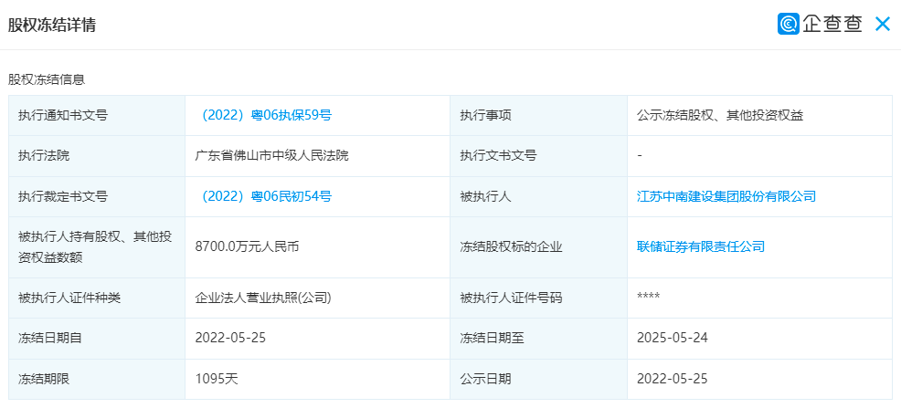
5月26日,江苏中南建设集团股份有限公司(以下简称:中南建设)所持联储证券有限责任公司(以下简称:联储证券)8700万元股权遭冻结,执行通知书文号为(2022)粤06执保59号,执行法院为广东省佛山市中级人民法院,冻结期限从2022年5月25日到2025年5月24日。

联储证券成立于2001年2月28日,法定代表人为吕春卫,注册资本约30.73亿元,经营范围包含:证券业务;证券投资基金销售服务。该公司大股东为北京正润投资集团有限公司,持股约18.44%。该公司有13家对外投资企业,包括哈尔滨秋林集团股份有限公司等。
中南建设成立于1998年7月28日,法定代表人为陈锦石,注册资本约37.1亿元,经营范围包含:房地产开发、销售(凭资质证书承接业务)等。该公司大股东为中南城市建设投资有限公司,持股54.12%。该公司有105家对外投资企业,包括江苏中南建筑产业集团有限责任公司等。
>>>查看更多:股市要闻