
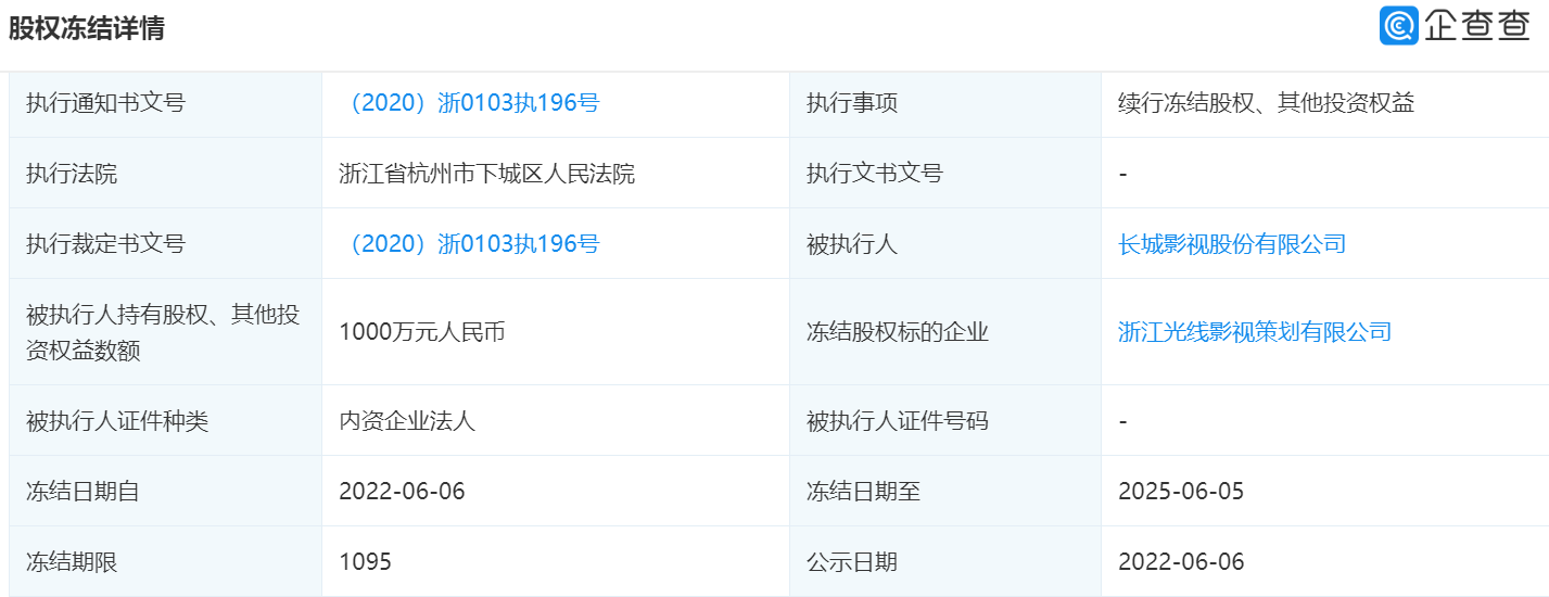
6月6日,长城影视股份有限公司(以下简称“长城影视”)新增股权冻结,执行通知书文号为(2020)浙0103执196号,被执行人为长城影视,冻结股权标的企业为浙江光线影视策划有限公司,冻结权益数额为1000万元,冻结期限从2022-06-06到2025-06-05。
浙江光线影视策划有限公司于2020年2月23日成立,法定代表人为郑希来,注册资本5000万元。公司经营范围包括服务:影视策划、动漫设计、图文设计制作(除制版)、投资管理等。该公司由东阳长城影视传媒有限公司持股80%,长城影视持股20%。
长城影视成立于1999年1月15日,注册资本5.25亿元,法定代表人为陈志永,经营范围包括制作、发行:广播电视节目(不得制作时政新闻及同类广播电视节目)等。该公司主要由浙江清风原生文化有限公司持股14.52%,中原证券股份有限公司持股9.6%,江苏宏宝集团有限公司持股6.77%。
>>>查看更多:股市要闻