当前位置: 爱股网 > 股票新闻 > 正文

山东龙力生物被强制执行1946万

时间:2022年06月10日 17:07

  中国网财经6月10日讯(记者钟文鑫)据中国执行信息公开网,近日,山东龙力生物科技股份有限公司新增一则恢复执行信息,执行标的1946万余元,执行法院为禹城市人民法院。

  图片来源:中国执行信息公开网  图片来源:中国执行信息公开网

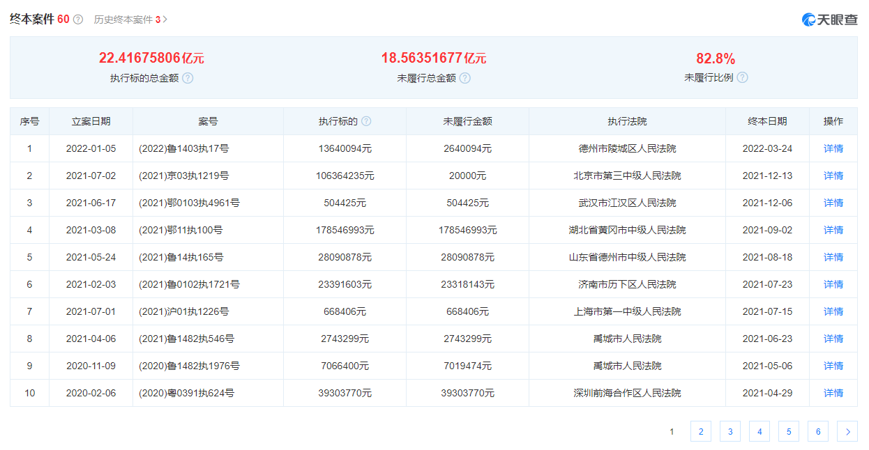
  山东龙力生物科技股份有限公司成立于2001年6月12日,注册资本约为6亿元,法定代表人为程少博。目前,该公司被执行总金额已超3.75亿。风险信息提示,该公司还存在多条失信被执行人、限制消费令及终本案件信息,未履行总金额超18.56亿元。

查看更多董秘问答>>

热门新闻

>>>查看更多:股市要闻 内参消息 实时内参 财经日历